EasyManua.ls Logo

Panasonic TX-51P950M - 3 Disassembly for Service; Disassembly Flowchart

Panasonic TX-51P950M
102 pages
Print Icon
To Next Page IconTo Next Page
To Next Page IconTo Next Page
To Previous Page IconTo Previous Page
To Previous Page IconTo Previous Page
Loading...
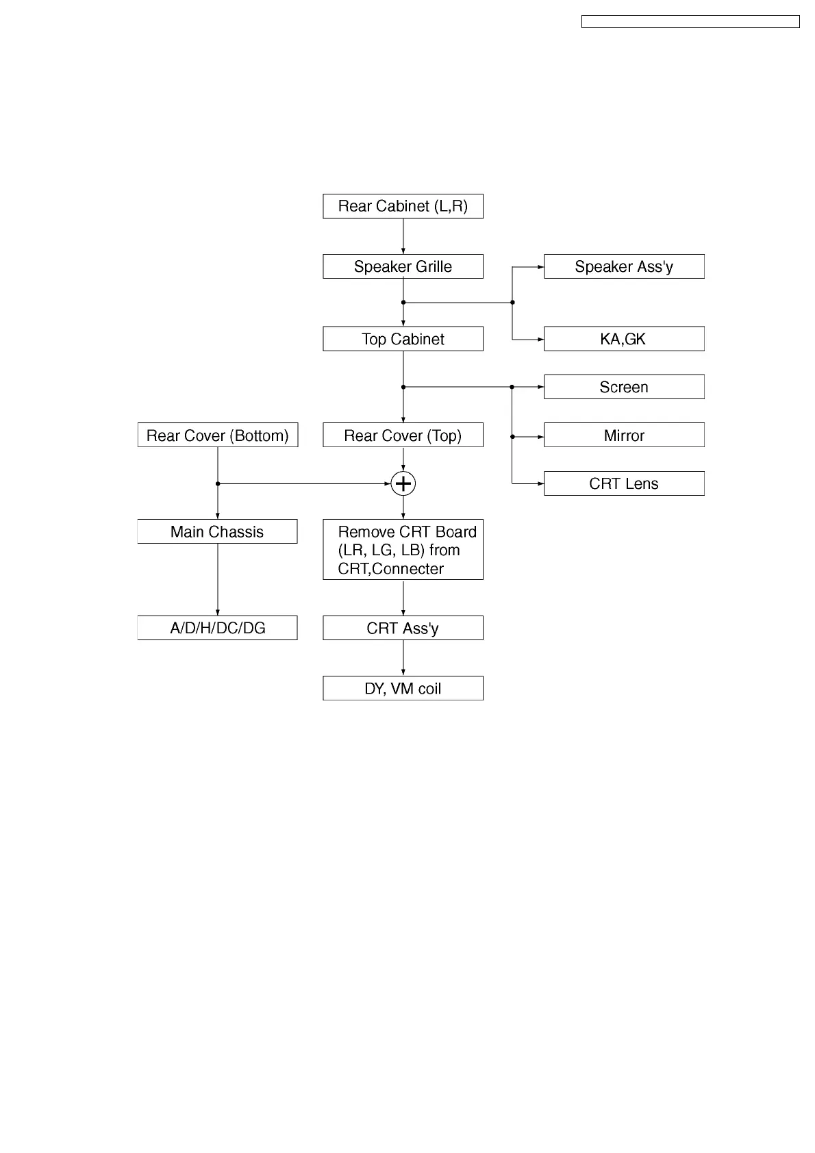
3 Disassembly for Service
This flowchart indicates disassembly items of the cabinet parts and circuit boards in order to find the items necessary for
servicing, when reassembling, perform the procedures in the reverse order.
3.1. Disassembly Flowchart
7
TX-51P950M / TX-51P950X / TX-43P950M / TX-43P950X

Table of Contents

Related product manuals