EasyManua.ls Logo

Panasonic VDR-M50PP - On-Screen Information Display During Playback

Panasonic VDR-M50PP
174 pages
Print Icon
To Next Page IconTo Next Page
To Next Page IconTo Next Page
To Previous Page IconTo Previous Page
To Previous Page IconTo Previous Page
Loading...
63
123
On-Screen Information Display
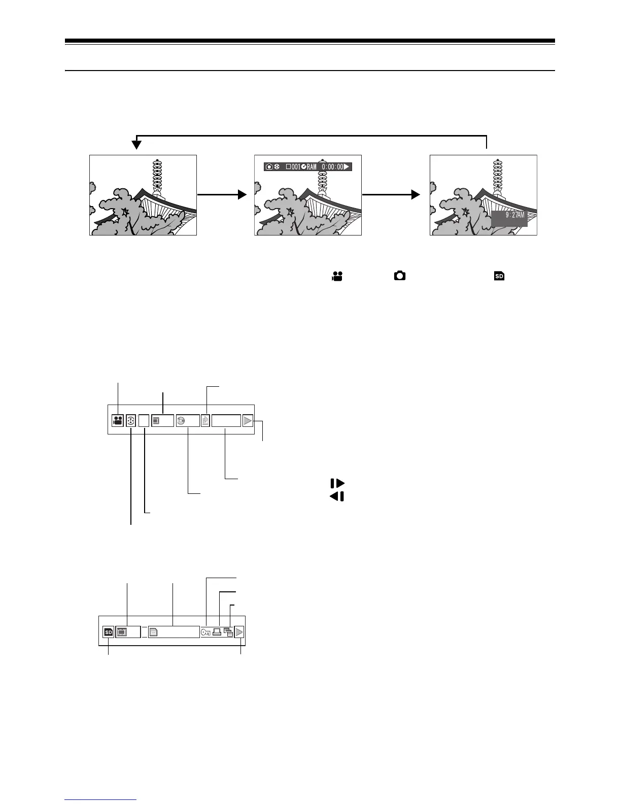
Information Display during Playback
Various types of information on recording will be superimposed on playback image you are viewing.
lSwitching the information display
mode
Press the DISPLAY button: You can switch the display
mode of on-screen information.
When using disc:
When using card:
*1
(movie), (still with disc) or (still with
card)
*2
678 Program or 12345 Play List
*3
Number of program or play list being played back (not
displayed when all programs are being played back)
*4
Refer to “Disc/Card type” on page 55.
*5
Y :Will appear when each function is specified
“On”
*6
a :Standard playback
b :Playback pause
c :Forward search playback
d :Reverse search playback
e :Forward skip playback
f :Reverse skip playback
g :Forward frame advance
h :Reverse frame back
:Forward slow playback
:Reverse slow playback
Refer to “Playing Back” beginning on page 59 for
instructions on how to operate.
The “j” mark will appear on the first image on disc.
The “i” mark will appear on the last image on disc.
Recording date/time display: Shows the date/time
when recording was started. Even when playback
starts, the date/time display will not advance.
No display: No information will appear. However,
when the playback operation mode is switched, the
symbol (q) will appear for approx. 3 seconds.
Note:
See “Using Disc Navigation” on page 95 and later for
explanation on program and play list.
SEP 30 2004
No display Playback information
display
Recording date/time
RAM
00606 0:00:16
Recording mode
*1
Scene No.
Repeat play
*5
Program No. or Play List
No.
*3
Program or Play List
*2
Counter
Disc type
*4
Playback
operation
*6
003 100—0003
Recording mode
*1
Scene No. File name Lock
*5
DPOF
*5
Playback operation
*6
Slide Show
*5

Table of Contents

Related product manuals