EasyManua.ls Logo

Pentair MT125 - Outdoor Heater Installation (Australia)

Pentair MT125
68 pages
Print Icon
To Next Page IconTo Next Page
To Next Page IconTo Next Page
To Previous Page IconTo Previous Page
To Previous Page IconTo Previous Page
Loading...
MASTERTEMP
125 Pool and Spa Heater Installation and User’s Guide 460906 Rev. D 8/2020
18
Section 1. Installation Instructions
OUTDOOR HEATER INSTALLATION (AUSTRALIA)
Thefollowinginformationisforheaterslocatedoutdoors,usingthebuilt-instacklessventingsystem.
WARNING
CARBON MONOXIDE GAS IS DEADLY – Exhaust from this pool heater contains carbon monoxide, a dangerous, poisonous
gas you cannot see or smell. Symptoms of carbon monoxide exposure or poisoning include dizziness, headache, nausea,
weakness, sleepiness, muscular twitching, vomiting and inability to think clearly. IF YOU EXPERIENCE ANY OF THE ABOVE
SYMPTOMS, IMMEDIATELY TURN OFF THE POOL HEATER, LEAVE THE VICINITY OF THE POOL OR SPA AND GET INTO
FRESH AIR IMMEDIATELY. THE POOL HEATER MUST BE THOROUGHLY TESTED BY A GAS PROFESSIONAL BEFORE
RESUMING OPERATION.
EXCESSIVE CARBON MONOXIDE EXPOSURE CAN CAUSE BRAIN DAMAGE OR DEATH.
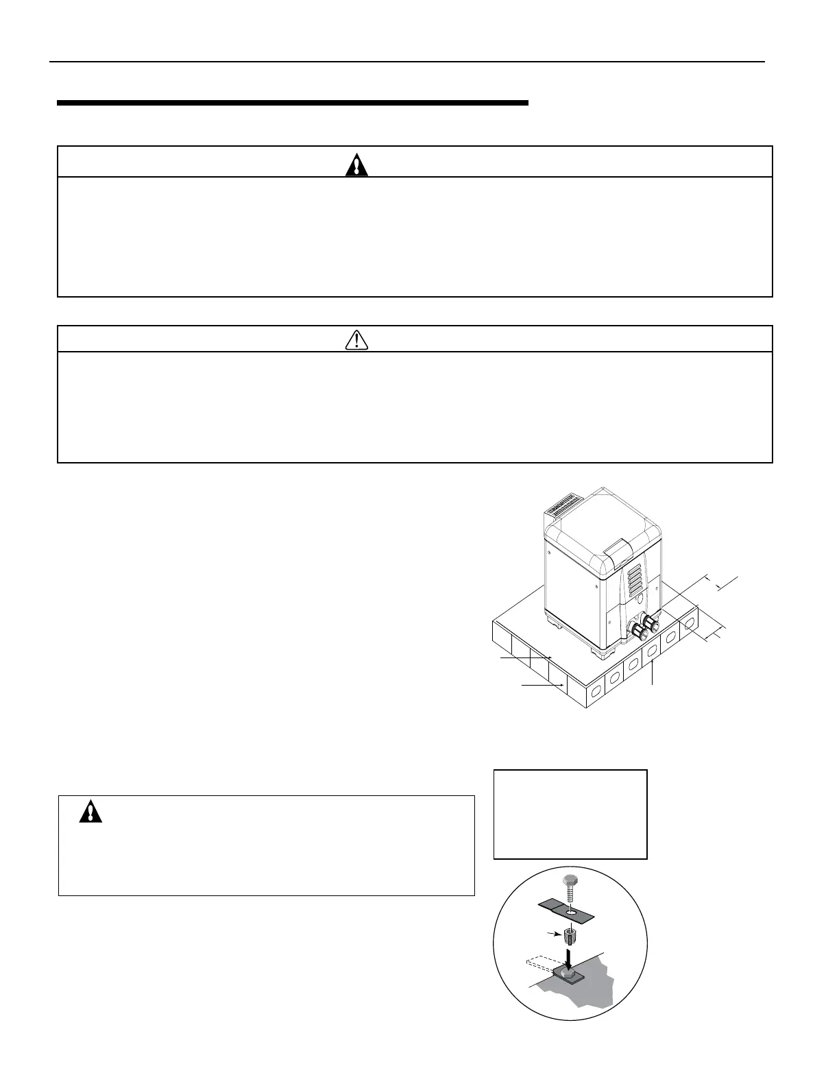
Locate the heater in an open, unroofed area and on a level surface
that is protected from drainage or run-off. Install the heater in an area
where leaves or other debris will not collect on or around the heater.
It is recommended that a non-combustible base be a platform under
the heater constructed of hollow masonry blocks, not less than 100
millimeters (mm) thick (laid with ends unsealed and joints matched
for air circulation). Cover blocks with 0.75 mm (min.) galvanized
sheet metal, see Figure 11.
To avoid damage to the electronic components in the heater, take care
to prevent prolonged exposure to driving sources of water (such as
lawn sprinklers, heavy roof runoff, hoses, etc.). Avoid operation in
persistent, extreme, moist or salty environments.
In extreme weather, shut down the heater and disconnect the power
to it until the weather has moderated. In areas subject to hurricanes or
very high winds, purchase the Bolt Down Bracket Kit, P/N 460738,
see Figure 12.
Figure 11.
Lead
Anchor
For Heater mounting
bolts and clamps,
purchase separately
Bolt Down Bracket Kit,
Part No.
460738.
WARNING
Risk of explosion if a unit burning propane gas is installed in a pit or other low spot. Propane is heavier than air. Do not
install the heater using propane in pits or other locations where gas might collect. Consult your local building code officials to
determine installation requirements and specific installation restrictions of the heater relative to propane storage tanks and filling
equipment. Installation must meet the requirements for the Standard for the Storage and Handling of Liquid Petroleum Gases.
Consult local codes and fire protection authorities about specific installation restrictions.
Figure 12.
CAUTION: DO NOT install the heater within
1.5 M (5 ft.) of the inside surface of a pool or spa,
unless it is separated by a solid fence, wall or
other permanent barrier.
SHEET
METAL
BLOCKS
Hollow masonry blocks, not less than 100 mm (4 in) thick, (laid with ends unsealed and joints
matched for air circulation). Cover blocks with 0.75 mm (0.03 in) minimum) galvanized sheet metal.
150 mm
(6 in) Min.
BASE FOR USE ON
COMBUSTIBLE
FLOORS
Masonry blocks,
not less than 100 mm (4 in) thick
150 mm
(6 in) Min.

Table of Contents

Related product manuals