EasyManua.ls Logo

Philips LC3631 - Page 28

Philips LC3631
44 pages
Print Icon
To Next Page IconTo Next Page
To Next Page IconTo Next Page
To Previous Page IconTo Previous Page
To Previous Page IconTo Previous Page
Loading...
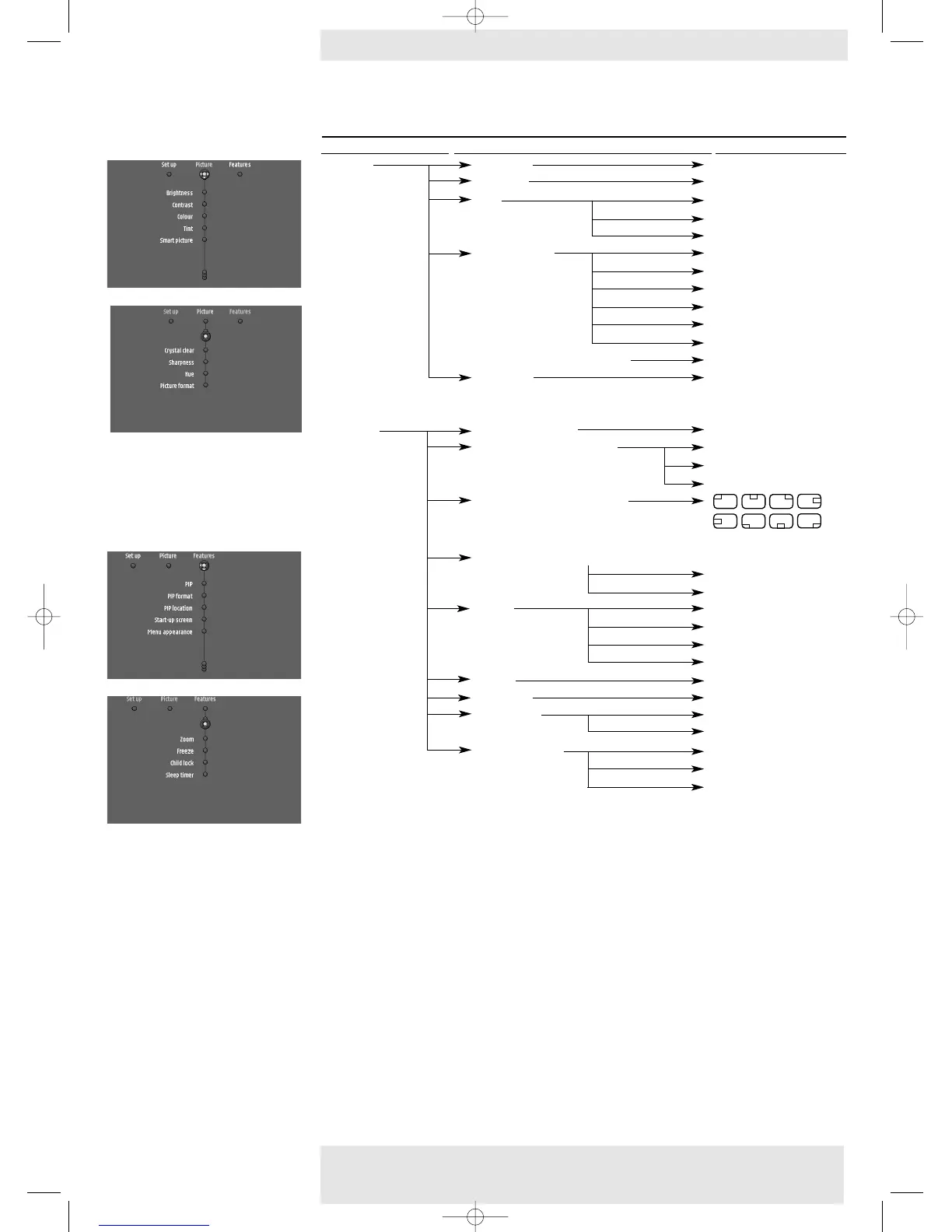
MULTIMEDIA MODE
Main menu Sub menu Setting
Picture Brightness 0 (min) - 100 (max)
Contrast 0 (min) -100 (max)
Tint Warm
Normal
Cool
Smart picture Movie
Nature
Sports
Cartoon
Game
Internet
CrystalClear (LC 6285 only) Off On
Sharpness 0 (soft) - 5 (sharp)
Features PIP (LC 6285 only) Off On
PIP format (LC 6285 only) Small,
Medium
Large
PIP Location (LC 6285 only)
Menu Appearance (LC 6285 only)
Menu Appearance 1.
Menu Appearance 2
Zoom Off
4 x
9 x
16 x
Freeze On Off
Child lock On Off
Sleep timer Off
1minute - 180 minutes
Start-up screen Philips
Personal
None
Menu tree
Philips Home Cinema Projector 28 English User guide LC 6281 / LC 6285
5. Operation >On Screen Display Menu
XP LC6281/6285 EVA English 01-08-2003 17:51 Pagina 28

Table of Contents

Other manuals for Philips LC3631

Related product manuals