EasyManua.ls Logo

Proteus DOLPHIN V4 - Pedal Installation

Proteus DOLPHIN V4
40 pages
Print Icon
To Next Page IconTo Next Page
To Next Page IconTo Next Page
To Previous Page IconTo Previous Page
To Previous Page IconTo Previous Page
Loading...
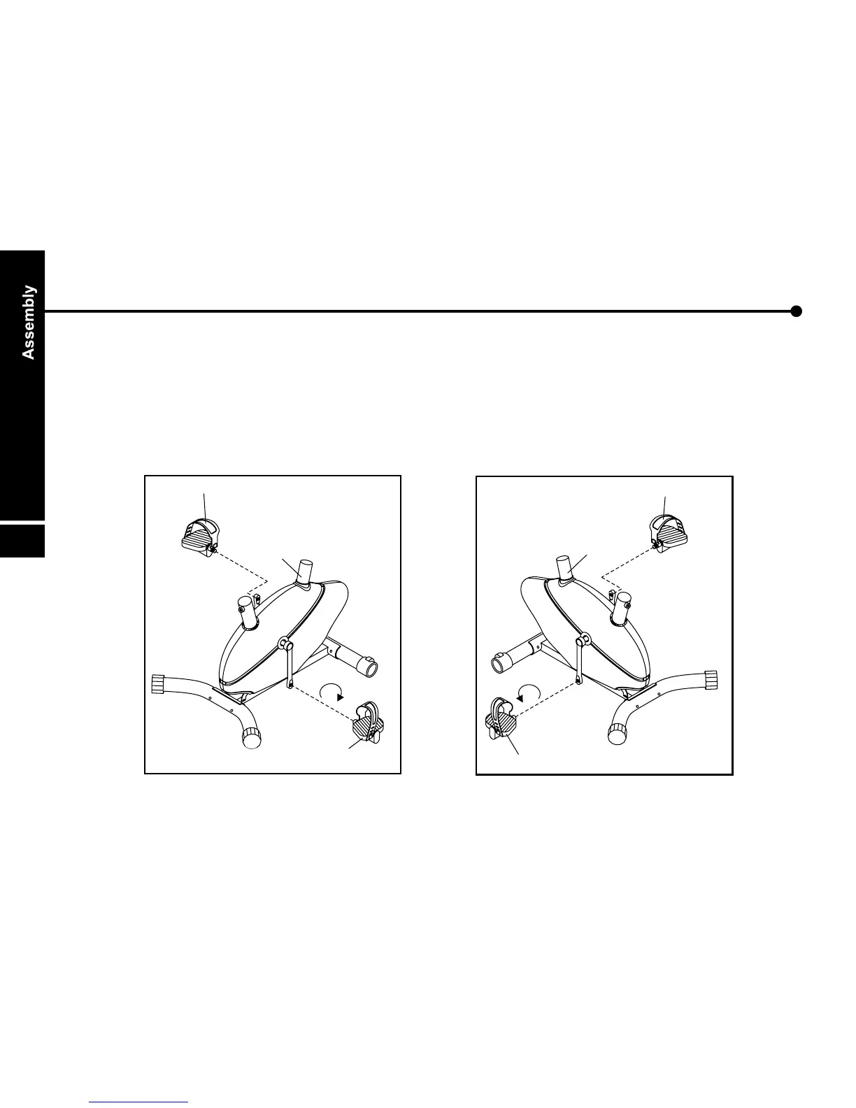
Pedals
Attach pedal ( 17 / 18 ) to pedal cranks,( pedals marked "R" and "L" indicates right and left
side of bike. Make sure not to mix up ).
2. Left pedal has left-hand thread and must be turned counterclockwise ( ccw ) to attach
right pedal has right-hand thread, must be turned clockwise ( cw ) to attach. (use tool B)
b.
1.
09
( CCW )
L
R
17
1
18
( CW )
L
R
18
1
17

Related product manuals