EasyManua.ls Logo

Proteus DOLPHIN V4 - Seat Post and Saddle Assembly

Proteus DOLPHIN V4
40 pages
Print Icon
To Next Page IconTo Next Page
To Next Page IconTo Next Page
To Previous Page IconTo Previous Page
To Previous Page IconTo Previous Page
Loading...
eat post
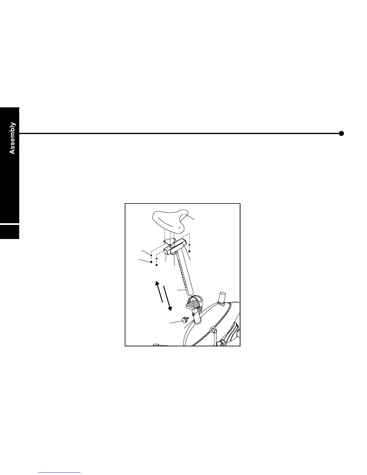
Attach saddle ( 11 ) to saddle plate of seat post ( 04 ). Fasten with spring washers ( 46 ) and
nylon nuts ( 47 ). (use tool B)
2. Then attach seat post ( 04 ) to main frame ( 01 ). Adjust saddle to desired height, then
fasten by knob (30).
d. S
1.
11
46
47
40
42
39
4
30
01
11

Related product manuals