EasyManua.ls Logo

RADWAG AS series - 10.7.1. Means of operation; 10.7.2. Activating air buoyancy correction

RADWAG AS series
92 pages
Print Icon
To Next Page IconTo Next Page
To Next Page IconTo Next Page
To Previous Page IconTo Previous Page
To Previous Page IconTo Previous Page
Loading...
- 35 -
10.7.1. Means of operation
The software enables two means of using the air buoyancy correction.
1. By inserting to balance memory known value of air density and known density
value of weighed sample.
After inserting these values the application automatically calculates correction
factor for measured mass and after re-calculation of sample mass displays correct
mass value. In order to avoid any errors, the re-calculated mass is proceeded by
and exclamation mark (!) on the display and on a printout.
2. By semi-automatic determining density of the air and inserting the known density
value of weighed sample.
Determining air density requires applying a set of two mass standards, where one
of them is made of stainless steel, and the other of aluminum. Based on mass
indications for both mass standards, the software automatically calculates the air
density which has to be saved in balance memory (by pressing Enter key). Then
insert density value of the weighed sample to balance memory.
After inserting these values the application automatically calculates correction
factor for measured mass and after re-calculation of sample mass displays correct
mass value.
As in previous case the re-calculated mass is proceeded by and exclamation
mark (!) on the display and on a printout.
The air buoyancy correction mode is enabled or disabled in the user menu.
The mode can operate together with other working modes, like checkweighing, dosing,
etc.).
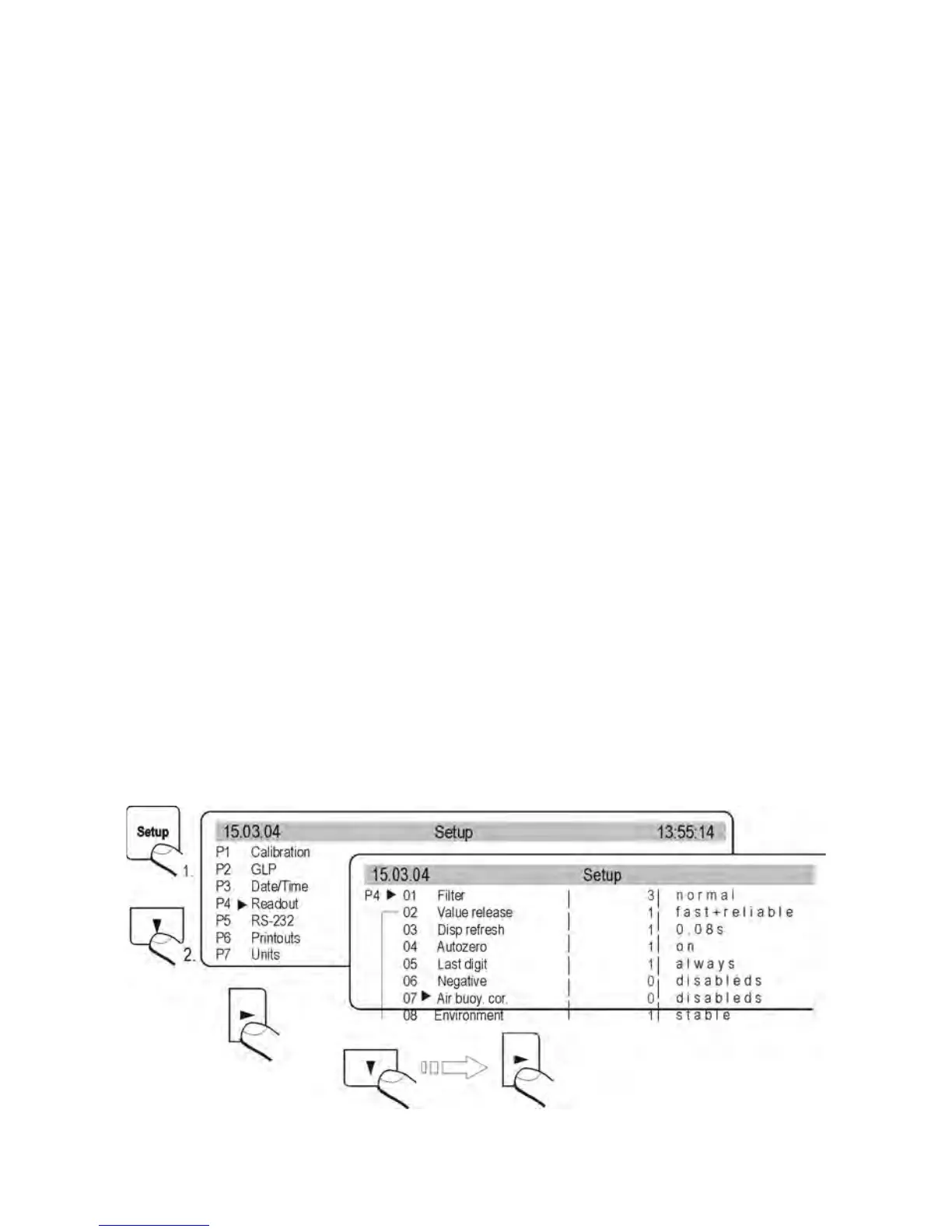
10.7.2. Activating air buoyancy correction
Fig. 23-1. Balance menu enabling air buoyancy correction

Table of Contents

Other manuals for RADWAG AS series

Related product manuals