EasyManua.ls Logo

RBH Access Technologies Integra32 - Page 29

Default Icon
64 pages
Print Icon
To Next Page IconTo Next Page
To Next Page IconTo Next Page
To Previous Page IconTo Previous Page
To Previous Page IconTo Previous Page
Loading...
Chapter 3
Input & Output Connections
RBH Access Technologies Inc. Integra32
Hardware Guide
25
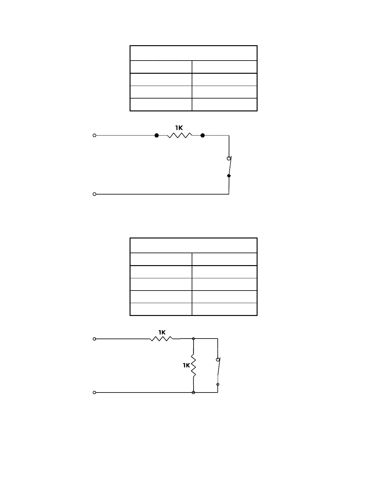
Normally Closed, One Resistor
Loop Resistance
State
Short
Trouble
1k
Restore
Open Circuit
Alarm
Normally Closed, Two Resistor
Loop Resistance
State
Short
Trouble
1k
Restore
2k
Alarm
Open Circuit
Trouble
This circuit provides a high degree of supervision and detects both short and open circuit
fault conditions. Use this circuit in high security applications.