EasyManua.ls Logo

RBH Access Technologies Integra32 - Page 30

Default Icon
64 pages
Print Icon
To Next Page IconTo Next Page
To Next Page IconTo Next Page
To Previous Page IconTo Previous Page
To Previous Page IconTo Previous Page
Loading...
Chapter 3
Input & Output Connections
Integra32
Hardware Guide RBH Access Technologies Inc.
26
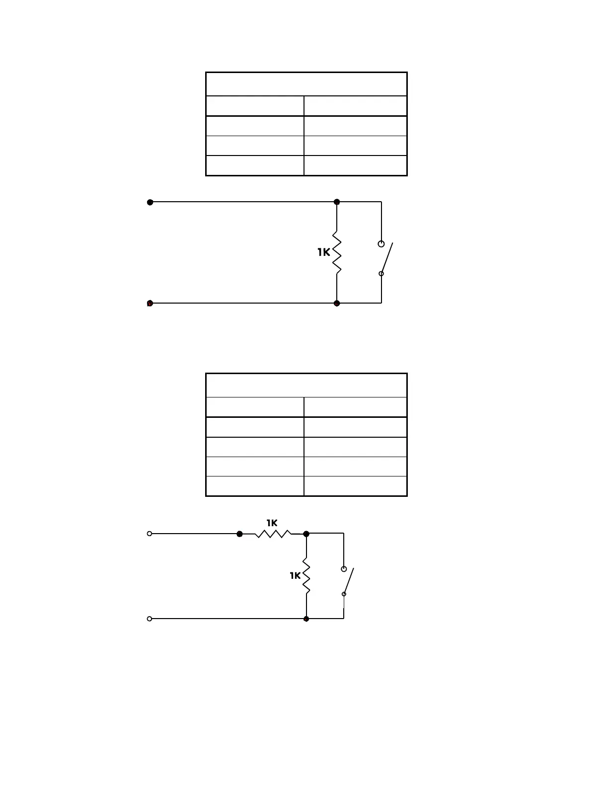
Normally Open, One Resistor
Loop Resistance
State
Short
Alarm
1k
Restore
Open Circuit
Trouble
Normally Open, Two Resistor
Loop Resistance
State
Short
Trouble
1k
Alarm
2k
Restore
Open Circuit
Trouble