EasyManua.ls Logo

RBH Access Technologies Integra32 - Page 31

Default Icon
64 pages
Print Icon
To Next Page IconTo Next Page
To Next Page IconTo Next Page
To Previous Page IconTo Previous Page
To Previous Page IconTo Previous Page
Loading...
Chapter 3
Input & Output Connections
RBH Access Technologies Inc. Integra32
Hardware Guide
27
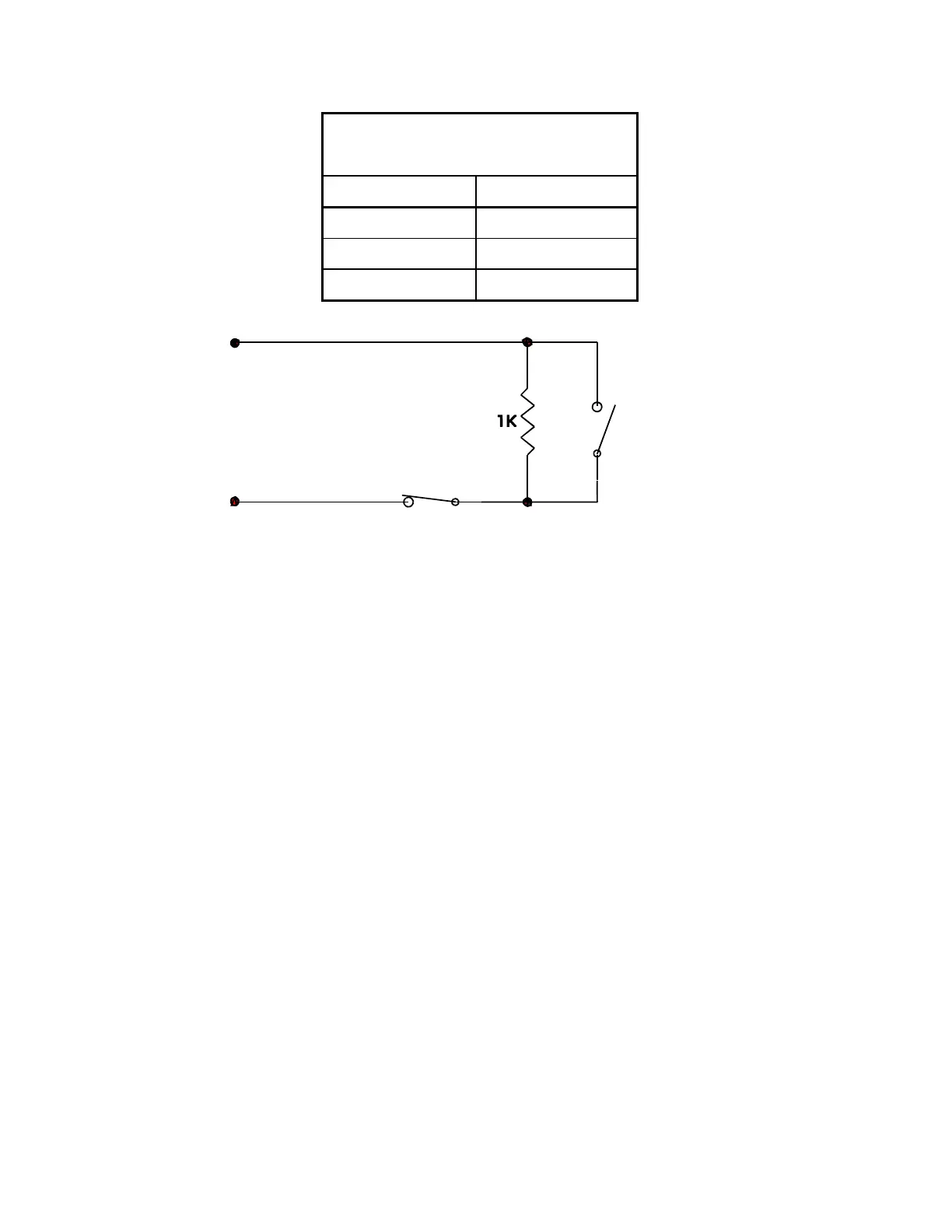
Normally Open And Normally
Closed, One Resistor
Loop Resistance
State
Short
Alarm
1k
Restore
Open Circuit
Alarm
This circuit type is used where normally open and normally closed contacts are used in
the same loop.