EasyManua.ls Logo

Ricoh CP6123L+ - Machine Exterior

Ricoh CP6123L+
88 pages
Print Icon
To Next Page IconTo Next Page
To Next Page IconTo Next Page
To Previous Page IconTo Previous Page
To Previous Page IconTo Previous Page
Loading...
6
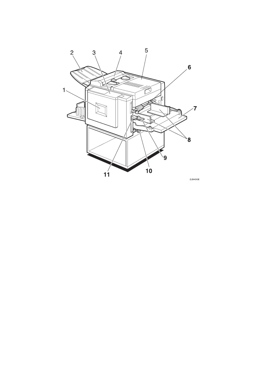
Machine Exterior
1. Front door
Open for access to the inside of the ma-
chine.
2. Original delivery tray
The scanned original is delivered here.
3. Control panel
Operator controls and indicators are lo-
cated here. See p.8 “Control Panel”.
4. Document feeder cover
Open this cover to clean the document
feeder.
5. Right side cover
Open to replace the master roll or to clear
a master misfeed.
6. Feed roller pressure lever
Use to adjust the contact pressure of the
paper feed roller according to the paper
thickness.
7. Paper feed tray
Set paper on this tray for printing.
8. Paper feed side plates
Use to prevent paper skew.
9. Paper feed side plate lock levers
Use to lock or unlock the paper feed side
plates.
10. Separation pressure lever
Use to prevent double-feed.
11. Paper feed tray adjustment lever
Use to move the paper feed tray up or
down.
Titanium2_EN-F2_FM_forPaper.book Page 6 Wednesday, January 25, 2006 6:30 PM

Table of Contents

Related product manuals