EasyManua.ls Logo

Riello 464T2 - Page 23

Riello 464T2
Print Icon
To Next Page IconTo Next Page
To Next Page IconTo Next Page
To Previous Page IconTo Previous Page
To Previous Page IconTo Previous Page
Loading...
20025319
5
F
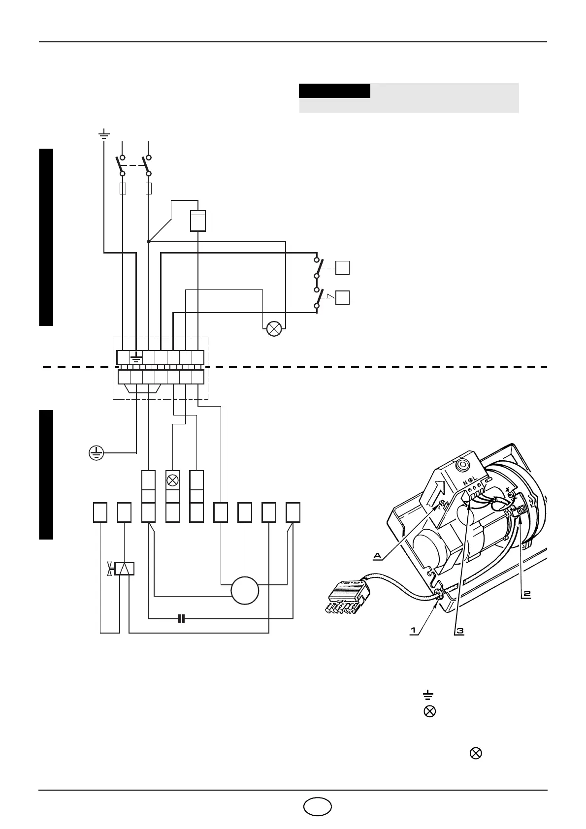
RACCORDEMENTS ELECTRIQUE
S7183
Marron
Blanc
(50V)
Bleu
Moteur
Condensateur
Thermostat de réglage
Neutre
Interrupteur
6A
max.
M
~
Gris
LN
Thermostat maxi avec
réarmement manuel
Signalisation de sécurité
extérieure (230V - 0,5A max.)
1 N T1 T2 S3 B4
12
Marron
Vanne
T
T
D5334
Noir
avec fusible
BORNIER DE
CONTROLE
3456789
NL
Jaune/vert
Bleu
Bleu
Marron
Noir
Compte-heures
h
Noir
Ne pas inverser le neutre avec la phase
ATTENTION
NOTES
Section conducteurs: 1 mm
2
.
Les branchements électriques exécutés par
l’installateur doivent respecter le règlement
en vigueur dans le Pays.
CONTROLE
Vérifier l’arrêt du brûleur en ouvrant les cir-
cuits des thermostats.
230V ~ 50Hz
530SE
*
BOITE DE CONTROLE
- Pour enlever la boîte de contrôle du brûleur,
desserrer la vis (A) (voir figure ci-dessous) et
tirer dans le sens de la flèche.
- Le capteur flamme est montémonté directement
sur la boîte de contrôle (au-dessous du transfor-
mateur d’allumage) sur un support à
embrochage rapide.
TRAJET DU CABLE ELECTRIQUE
1 - Presse-étoupe N - Neutre
2 - Blocage-câbles L - Phase
3 - Bornier - Terre-brûleur
- Lampe sécurité
ATTENTION
Ne pas brancher le fil de terre du brûleur à la
borne qui signale le blocage pour ne pas
abîmer le boîtier de contrôle.
EXECUTEE EN USINE EXECUTES PAR L’INSTALLATEUR
Fiche 7 pôles
Prise 7 pôles
LA BOITE DE

Related product manuals