EasyManua.ls Logo

Riello MULTI SENTRY Series - Page 7

Riello MULTI SENTRY Series
48 pages
Print Icon
To Next Page IconTo Next Page
To Next Page IconTo Next Page
To Previous Page IconTo Previous Page
To Previous Page IconTo Previous Page
Loading...
SPTMSTD2T16EREN
5
Standard communication cable, part of installation kit is 5 meters long for all Multi Sentry range 10÷200; user may
arrange for a longer cable (according with prescriptions above mentioned) using RJ45 standard cables
available in the market.
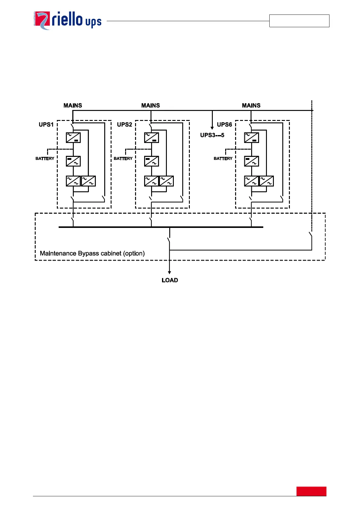
Thanks to the “Hot System Expansion” feature means that a new UPS can be added to the system while the other
units are on-line and powering the load from the inverter.
The integrated UPS will configure itself automatically with the system data without any disturbance to the load.
NOTE: for realizing a parallel configuration where is required a transformer connected downstream each single
UPS please contact the manufacturer in advance.

Related product manuals