EasyManua.ls Logo

samhydraulik HCV - 9.21 Hydraulic Layout Diagrams

samhydraulik HCV
58 pages
Print Icon
To Next Page IconTo Next Page
To Next Page IconTo Next Page
To Previous Page IconTo Previous Page
To Previous Page IconTo Previous Page
Loading...
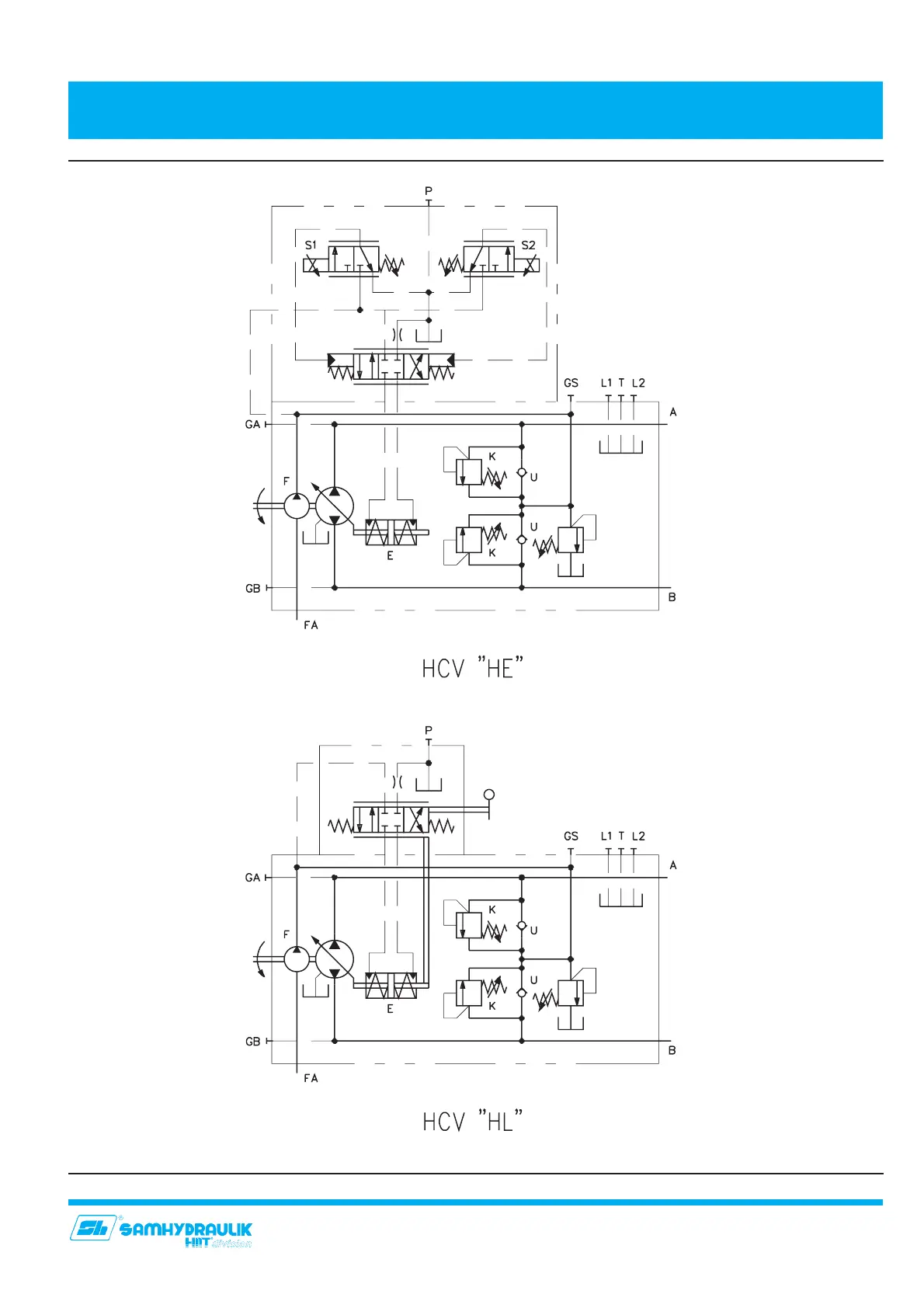
9.21 SCHEMI IDRAULICI
9.21 HYDRAULIC LAYOUTS
55

Related product manuals