EasyManua.ls Logo

Sanwa cd732 - MEASUREMENT PROCEDURE; Start-up Inspection

Sanwa cd732
36 pages
Print Icon
To Next Page IconTo Next Page
To Next Page IconTo Next Page
To Previous Page IconTo Previous Page
To Previous Page IconTo Previous Page
Loading...
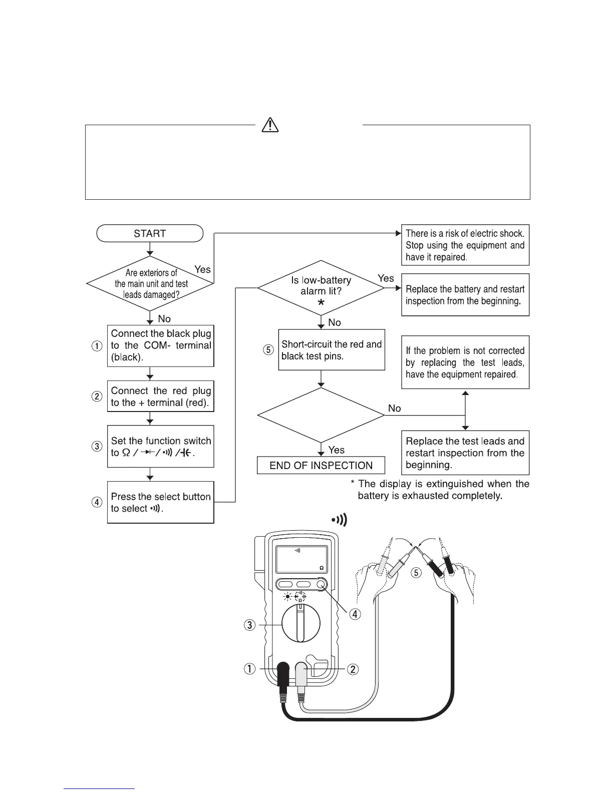
5MEASUREMENT PROCEDURE
5-1 Start-up Inspection
1. Never use meter if the meter or test leads are damaged or
broken.
2. Make sure that the test leads are not cut or otherwise damaged.
WARNING
Does the
buzzer beep?
Does the continuity check
indicator light?
38

Related product manuals