EasyManua.ls Logo

Schwank S100 - Page 16

Schwank S100
66 pages
Print Icon
To Next Page IconTo Next Page
To Next Page IconTo Next Page
To Previous Page IconTo Previous Page
To Previous Page IconTo Previous Page
Loading...
16
S100-F / ITB-F I&O Manual
IM101230
RD: JAN 2014
RL: 9A
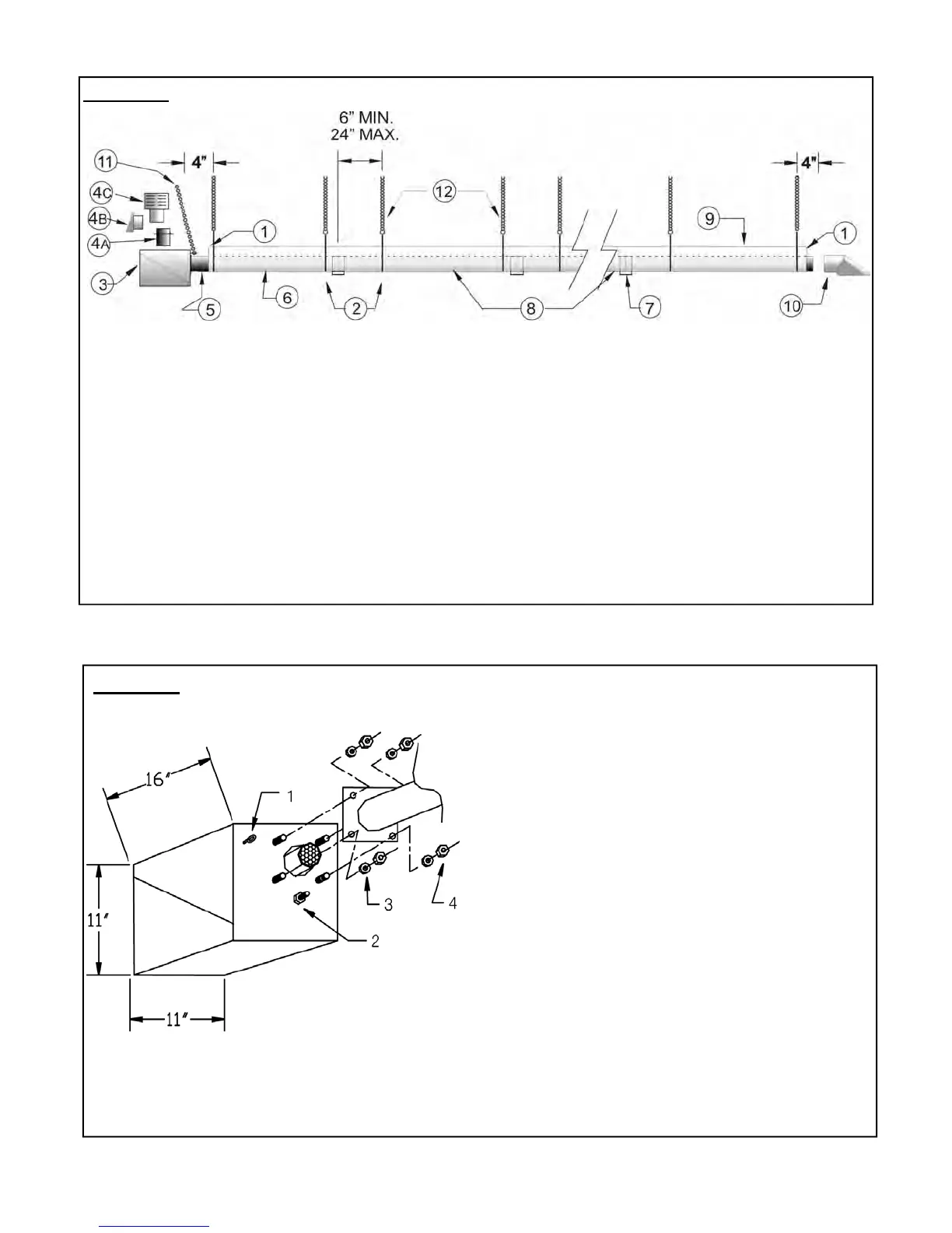
FIGURE 7 STRAIGHT TUBE TYPICAL HANGER & SUPPORT SPACINGS
6 - ALUMINIZED TUBE WITH FLANGE
7 - TORCTITE TUBE COUPLER
8 - STEEL TUBE(S)
9 - REFLECTOR
10 - FLUE VENT TERMINAL
11 - BURNER SUPPORT CHAIN
12 - HANGER SUPPORT CHAINS
1 - END CAP
2 - WIRE HANGER
3 - BURNER ASSEMBLY
4 - COMBUSTION AIR OPTIONS:
4A - JS-0532-SE 4” INTAKE ADAPTER
4B - JS-0532-VC 4” WALL CAP
4C - JA-0528-XX 4” ROOF CAP
5 - SIGHT GLASS
SUSPEND ALL TUBES BY TWO (2) HANGERS PER 10’ LENGTH, LOCATED BETWEEN 6” to 24”
FROM EACH TUBE CONNECTION.
INSTALL FIRST AND SECOND TUBES (FROM BURNER END) WITH WELDED SEAM FACING
DOWNWARD.
1 Eye Bolt
2 Fifth Nut (Holds Inner Burner to Housing -
Do Not Remove or Loosen)
3 Lock Washers (4) Four
4 Nuts (4) Four Note: Nuts may be shipped
c/w lock-washers as one piece
 Insert four burner bolts through the tube
flange, secure tightly with lock washers and
nuts.
 Note: A Flange Gasket is not required for
this application
 Secure suspension chain to eye bolt to sta-
bilize burner
 Align the four burner bolts through flange on
tube, secure tightly with lock washers and
nuts
FIGURE 8
BOLTING BURNER TO FLANGED TUBE

Table of Contents

Related product manuals