EasyManua.ls Logo

Sharp AR-M550N - Page 237

Sharp AR-M550N
460 pages
To Next Page IconTo Next Page
To Next Page IconTo Next Page
To Previous Page IconTo Previous Page
To Previous Page IconTo Previous Page
Loading...
: Feb. 9 2004
1
AR-M550/M620/M700 SETTING AND ADJUSTMENTS 7 - 22
2) Enter the number that corresponds to the paper feed tray that
needs adjustments. (Choose from numbers 10 to 16.)
3) Press the Start key
4) Press the Start key
A self-print pattern image is printed.
Check the off-center of the printed self-print pattern image.
If so, no adjustment is required.
If the above requirement is not met, do the following steps.
5) Using the numeric keypad, change the adjustment value in steps
of 0.1 mm. A larger setting shifts the printed image toward the front
side.
6) Press the P or Start key. Pressing the Start key starts print opera-
tion as well as applying the adjustment value.
Check the off-center of the printed self-print pattern image.
Repeat steps 5 to 6 until an acceptable result is obtained.
This adjustment is needed in the following situations:
The MFP control PWB has been replaced.
The EEPROM on the MFP control PWB has been replaced.
The scan control PWB has been replaced.
The EEPROM on the scan control PWB has been replaced.
The scanner (reading) section has been disassembled.
The scanner (reading) unit has been replaced.
U2 trouble has occurred.
(Adjustment mode selection)
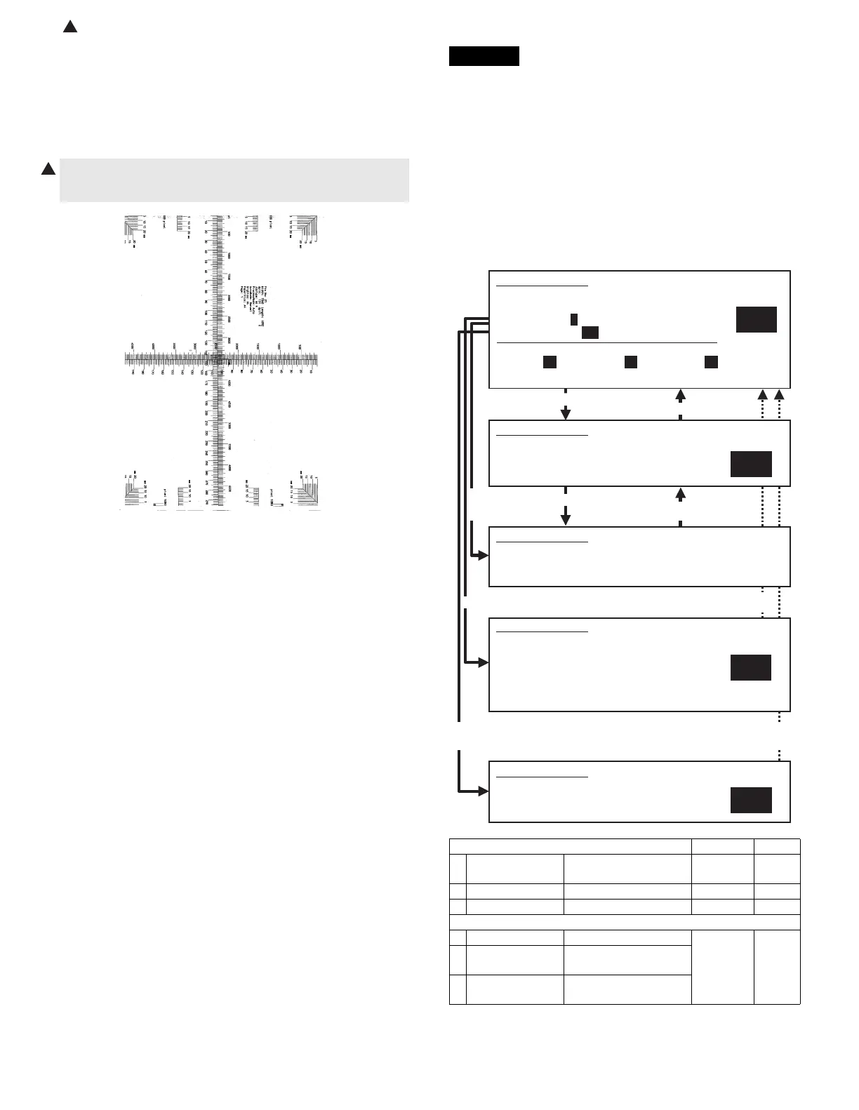
1) Go through the modes specified in Simulation 50-12.
2) Using the numeric keypad, select the adjustment item PLATEN,
which is intended to adjust the off-center in original table mode.
3) Press the Start key
Measure the void area dimensions in the front and rear frame
directions, and make sure that the difference between the two
dimensions is within ±1.5 mm.
1
ADJ 7B Adjust the scanned image off-center in
original table mode (scan section)
Select 2, and
press [START] key.
Press [START] key, or
press [CUSTOM SETTINGS] key.
Item Set range Default
0 TRAY SELECT Paper feed tray
selection
1 - 6
1 COPY START Copy START (Default) ––
2 MAGNIFICATION Print magnification ratio 25 - 400% 100
(Off-center adjustment value)
3 PLATEN OC mode adjustment 0 - 99 50
4 SPF SIDE1 SPF front surface
adjustment
5 SPF SIDE2 SPF back surface
adjustment
50
1
2
Select 1,
and press
[START] key.
Press [CUSTOM SETTINGS] key.
Press [START] key.
Press [CUSTOM SETTINGS] key,
or terminate copying.
Select 0, and press [START] key.
Press [START] key or
press [CUSTOM SETTINGS] key.
SIMULATION 50-12
ORIGINAL OFF-CENTER ADJUSTMENT. SELECT 0-9, AND PRESS
START.
0.TRAY SELECT 1 1.COPY START
2.MAGNIFICATION 100
(ADJUSTMENT DATA)
3.PLATEN 50 4.SPF SIDE1 50 5.SPF SIDE2 50
SIMULATION 50-12
ORIGINAL OFF-CENTER ADJUSTMENT. NOW COPYING.
SIMULATION 50-12
ORIGINAL OFF-CENTER ADJUSTMENT. INPUT VALUE 0-99, AND
PRESS START.
3.PLATEN
SIMULATION 50-12
ORIGINAL OFF-CENTER ADJUSTMENT. SELECT 1-16, AND PRESS
START.
(FEED TRAY)
1.TRAY1 2.TRAY2 3.TRAY3 4.TRAY4
5.BPT 6.LCC
(ABOVE+10: DUPLEX MODE)
Select other than 0 - 2, and press [START] key.
100
SIMULATION 50-12
ORIGINAL OFF-CENTER ADJUSTMENT.
(MAGNIFICATION)
INPUT 25-400(%)

Table of Contents

Other manuals for Sharp AR-M550N

Related product manuals