EasyManua.ls Logo

SMC Networks IP8001 Series - Page 59

Default Icon
89 pages
To Next Page IconTo Next Page
To Next Page IconTo Next Page
To Previous Page IconTo Previous Page
To Previous Page IconTo Previous Page
Loading...
No.IP8S-OM00009
58
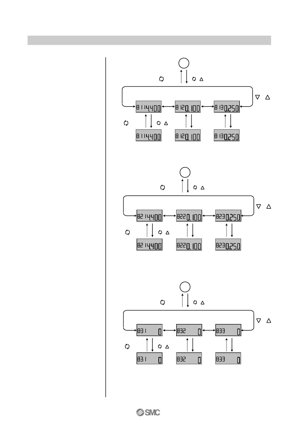
P constant
I constant
D constant
Fig. 41-2
or
Mode button
1s
Set button
1s
Mode button
1s
Set button
1s
P constant
I constant
D constant
Fig. 41-3
or
Mode button
1s
Set button
1s
Mode button
1s
Set button
1s
Fig. 41-4
or
Mode button
1s
Set button
1s
Mode button
1s
Set button
1s
P constant
easy adjustment
I constant
easy adjustment
D constant
easy adjustment

Table of Contents

Related product manuals