EasyManua.ls Logo

Subaru Outback 2012 - FM;AM radio operation

Subaru Outback 2012
474 pages
Print Icon
To Next Page IconTo Next Page
To Next Page IconTo Next Page
To Previous Page IconTo Previous Page
To Previous Page IconTo Previous Page
Loading...
Black plate (198,1)
Model "A2480BE-A" EDITED: 2011/ 7/ 26
5-12 Audio
FM/AM radio operation
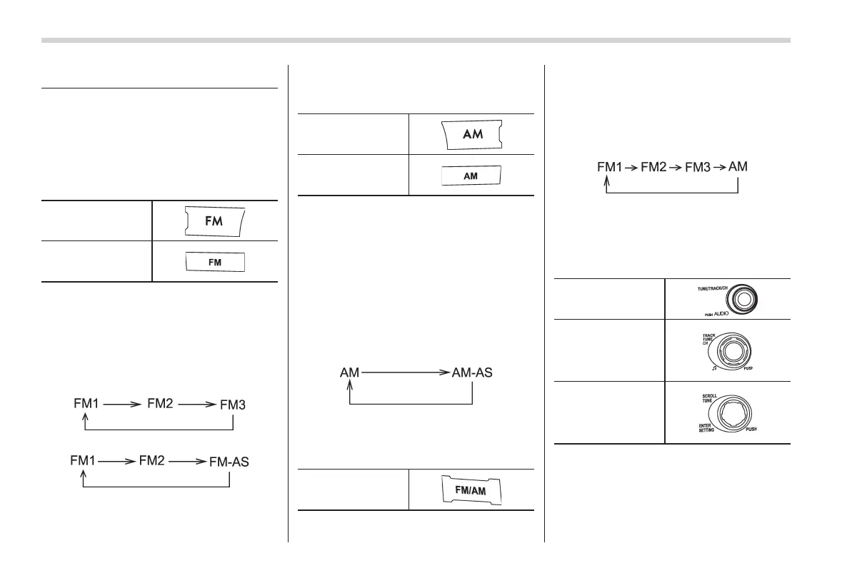
Press the FM or AM button (type A and
B audio)/FM/AM button (type C audio)
when the radio is off to turn on the radio.
& FM selection (type A and B
audio)
Type A audio
Type B audio
Press the FM button when the radio is on
to select the preferred reception mode.
Each brief press of the FM button
changes the radio in the following se-
quence starting from the last FM radio
band that you selected.
Type A audio:
Type B audio:
& AM selection (type A and B
audio)
Type A audio
Type B audio
! Type A audio
Press the AM button when the radio is on
to select AM reception starting from the
last radio band and the last frequency
interval that you selected.
! Type B audio
Each time the AM button is briefly
pressed the radio changes in the following
sequence starting from the last radio band
that you selected.
& FM/AM selection (type C
audio)
FM/AM button
Press the FM/AM button when the radio
is on to select the preferred reception
mode.
Each brief press of the FM/AM button
changes the radio in the following se-
quence starting from the last radio band
with you selected.
& Tuning
! Manual tuning
TUNE dial:
Type A audio
Type B audio
Type C audio
Turn the TUNE dial clockwise to in-
crease the tuning frequency and turn the
TUNE dial counterclockwise to decrease
it.
Each time the dial is turned, the frequency

Table of Contents

Related product manuals