EasyManua.ls Logo

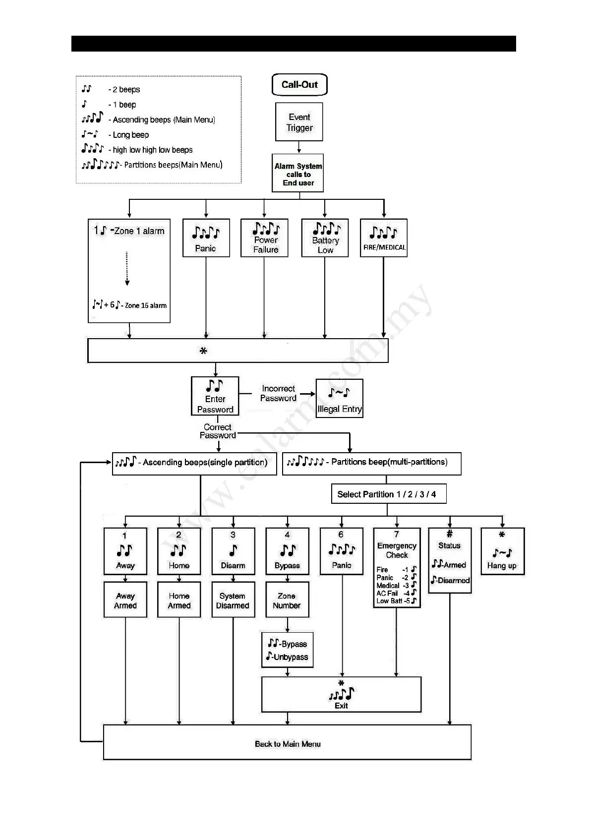
Supa L16 - Call-Out Block Diagram

Default Icon
23 pages
Print Icon
To Next Page IconTo Next Page
To Next Page IconTo Next Page
To Previous Page IconTo Previous Page
To Previous Page IconTo Previous Page
Loading...
Call-Out Block Diagram
L8_UM1016-v1.0
21
www.ealarm.com.my

Related product manuals