EasyManua.ls Logo

Swegon GOLD LP - The Components of the Air Handling Unit

Swegon GOLD LP
72 pages
Print Icon
To Next Page IconTo Next Page
To Next Page IconTo Next Page
To Previous Page IconTo Previous Page
To Previous Page IconTo Previous Page
Loading...
GB.GOLDLP.170830
4 www.swegon.com
We reserve the right to alter specifications without notice.
1
2
1
2
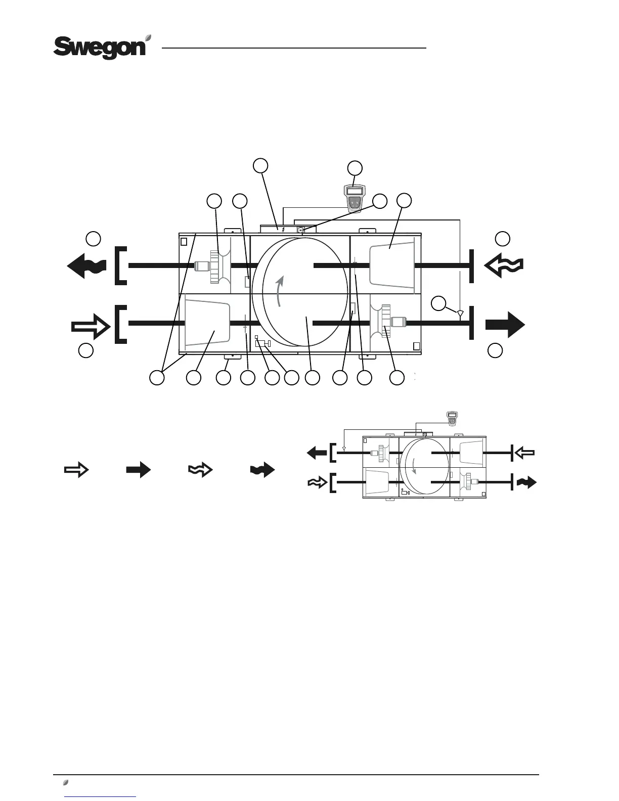
1.5 The Components of the Air Handling Unit
The individual components each specified below in a simplified and
diagrammatical description.
The air handling units are supplied in the right-hand ver-
sion as shown in Fig. 1a.
Coversion to the left-hand version as shown in Fig. 1b
can be carried out by making a simple adjustment in the
control equipment.
In the left-hand version (Fig. 1b), the components marked
with an asterisk change function and designation (the
components are named according to whether they are for
supply air or extract air).
The arrangement of the components and their des-
ignations
1
OUTDOOR AIR* (Left-hand version: Extract air)
2 EXHAUST AIR* (Left-hand version: Supply air)
3 Extract air fan* with motor and motor controller
4 Pressure sensor, extract air fan* (Position on function selector
switch = 1)
5 Electrical equipm. cubicle with control unit
6 Hand-held Micro Terminal
7 Main switch/Safety switch
8 Extract air filter*
9 EXTRACT AIR* (Left-hand version: Outdoor air)
10 SUPPLY AIR* (Left-hand version: Exhaust air)
11 Supply air temp. sensor (to be mounted in supply air duct)
12 Supply air fan* with motor and motor controller
13 Extract air temperature sensor*
14 Pressure sensor, supply air fan* (Position on function selector
switch = 2)
15 Heat exchanger
16 Drive motor, heat exchanger
17 Sensor, rotation monitor
18 Outdoor air temperature sensor*
19 Mounting bracket for securing the unit in position, 4
brackets
20 Supply air filter*
21 Slide rails for the inspection panels
Left-hand version
Fig 1b
Outdoor air Supply air Extract air Exhaust air
Fig 1a
1
2
3 4
5
6
11
7
8
10
9
1213141516171820 1921

Table of Contents

Related product manuals