EasyManua.ls Logo

Teac C-1 - Page 49

Teac C-1
96 pages
Print Icon
To Next Page IconTo Next Page
To Next Page IconTo Next Page
To Previous Page IconTo Previous Page
To Previous Page IconTo Previous Page
Loading...
r----
TAPE
END
DETECTING
|
circurr
TAPE
TRANSPORT
SECTION
RESET
TO
Pinta
of
USO!
PLAY
TO
Pin*@
of
U5Or
RECORD
TO
Pin*4
of
U5OI
[eA
|
capstan
|
|
MOTOR
|
|
SERVO
circuit
|
=
O44
D90I~0904
|
DE3i
!
908
R907
R908
CAPSTAN
L
---
MOTOR
CAPSTAN
MOTOR
C908
C906
RgiI
|
eee
1
switcH
$698
T-1306
POWER
SUPPLY
PCB
_
“s
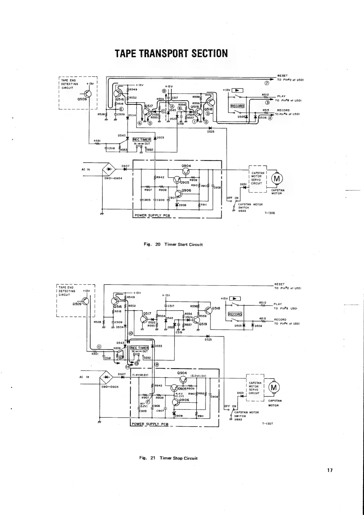
Fig.
20
Timer
Start
Circuit
RESET
Trareeno.Ot~C~*S
TO
Pin#2
of
U501
gees
de
se
|
|
ine
R849
+3v
(>
_]
|
re,
|
(4D
:
RS'O
Lay
PR
fe,
|
!
|
O516
$1552
csi7
RS563
To.
Pirtt
py”
pete
©
Pinte
uso!
R518
fe
3)
R556
a
RECORD
2S
SSS
EK)
;
RSIS
RECORD
R528
C509
TO
Pink4
of
USOI
J:
nese R557
[Q5!9
0505
=
D506
——>+
0525
0543
@
R553
REG
TIMER
IN
~=—~
OUT
R551
F=9
¢
C518
E
S692
z
&
iD)
C)
ae
6
en
f=]
0907
17,
4V(18.6V)
say
AC
IN
|
|
|
CAPSTAN
a
roez
|
Seno
|
063!
CIRCUIT
R907
R908
:
ie
:
2)
Lo
_]
capstan
(220
esos
|
"|
ee
C905
c907
CAPSTAN
MOTOR
bos
RSH
'
SWITCH
$693
lrower
surety
PCB
_
7
|
Talay
@
Fig.
21
Timer
Stop
Circuit
7

Table of Contents

Related product manuals