EasyManua.ls Logo

TECO Diagnostics Uritek-720 plus - Installation and Power-On Procedure

TECO Diagnostics Uritek-720 plus
41 pages
Print Icon
To Next Page IconTo Next Page
To Next Page IconTo Next Page
To Previous Page IconTo Previous Page
To Previous Page IconTo Previous Page
Loading...
- 10-
3.2 Installation and Power-On Procedure
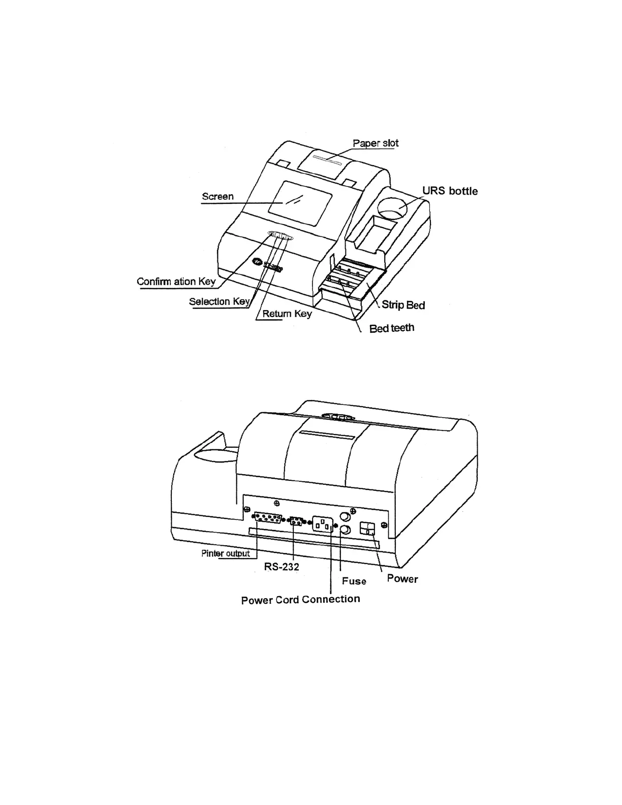
Name of parts of the apparatus
Figure 2: Front View
Figure 3: Rear View