EasyManua.ls Logo

Tescom CL115D Series - Installing the UPS; Electrical Connections; Diagrams of Connection to the Electrical System

Tescom CL115D Series
38 pages
Print Icon
To Next Page IconTo Next Page
To Next Page IconTo Next Page
To Previous Page IconTo Previous Page
To Previous Page IconTo Previous Page
Loading...
8
INSTALLING THE UPS
When installing the equipment the following points should be considered:
The air outlet and inlet of the UPS is on the rear and front respectively, because of this do not prevent air
ventilation from the rear and front side.
No objects should be left on its top surface
Sufficient space should be left in front of the equipment for it to be turned on/off and maintenance operations
to be performed on it (>1 m)
Keep out of your equipment from the explosive and flammable items
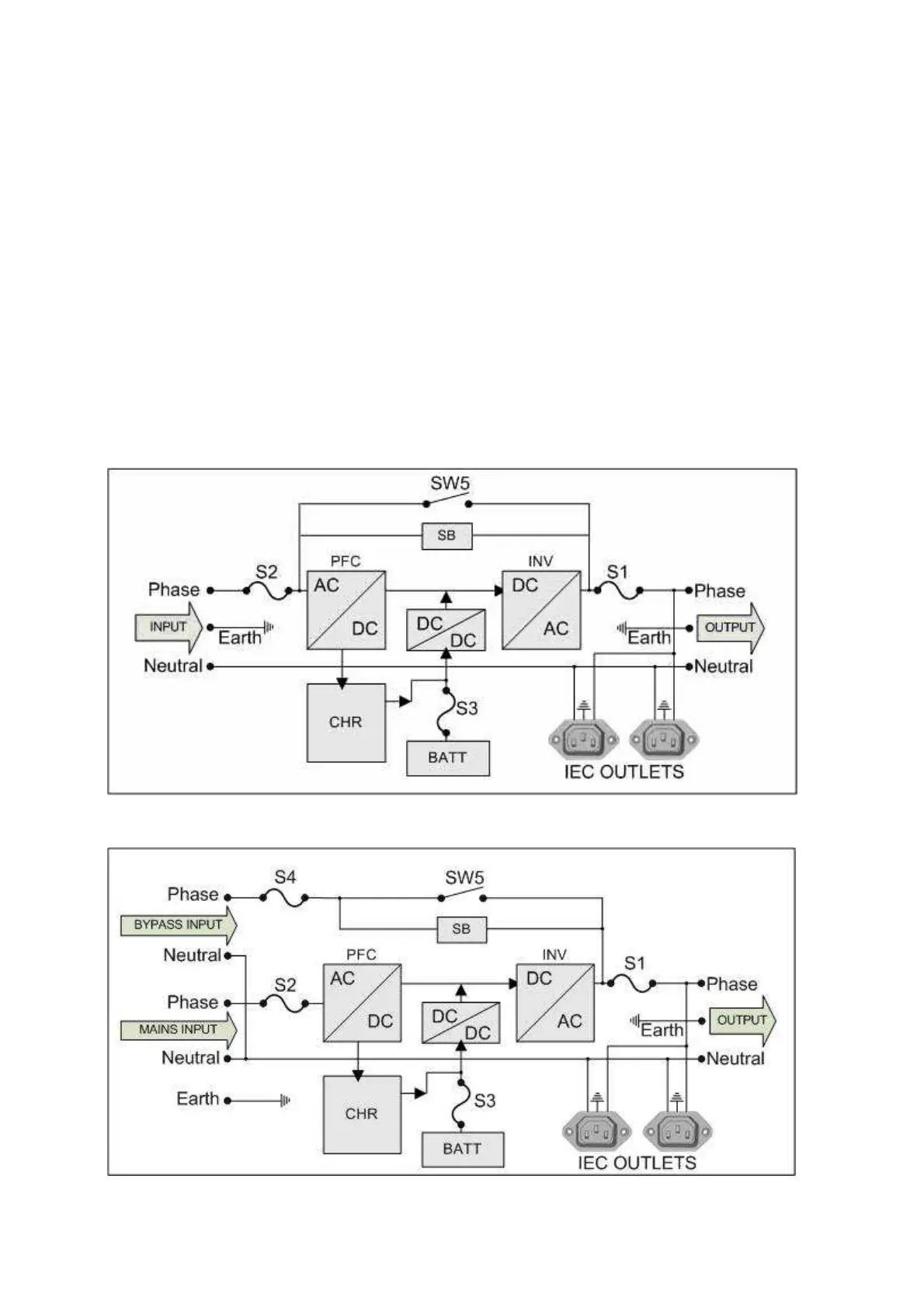
ELECTRICAL CONNECTIONS
DIAGRAMS OF CONNECTION TO THE ELECTRICAL SYSTEM
Basic connection (no split bypass input option)
Split bypass connection (OPTION)

Related product manuals