EasyManua.ls Logo

Texas Instruments TMS320F28069 - Page 90

Texas Instruments TMS320F28069
177 pages
Print Icon
To Next Page IconTo Next Page
To Next Page IconTo Next Page
To Previous Page IconTo Previous Page
To Previous Page IconTo Previous Page
Loading...
Conversion 0
13 ADC Clocks
Minimum
7 ADCCLKs
SOC0
ADCCLK
ADCRESULT 0
S/H Window Pulse to Core
ADCCTL1.INTPULSEPOS
ADCSOCFLG 1.SOC0
ADCINTFLG.ADCINTx
SOC1 SOC2
9 15 22 24 37
6
ADCCLKs
20
Result 0 Latched
Conversion 1
13 ADC Clocks
Minimum
7 ADCCLKs
ADCSOCFLG 1.SOC1
ADCSOCFLG 1.SOC2
ADCRESULT 1
EOC0 Pulse
EOC1 Pulse
EOC2 Pulse
2 ADCCLKs
Analog Input
SOC1 Sample
Window
SOC0 Sample
Window
SOC2 Sample
Window
90
TMS320F28069
,
TMS320F28068
,
TMS320F28067
,
TMS320F28066
TMS320F28065, TMS320F28064, TMS320F28063, TMS320F28062
SPRS698F NOVEMBER 2010REVISED MARCH 2016
www.ti.com
Submit Documentation Feedback
Product Folder Links: TMS320F28069 TMS320F28068 TMS320F28067 TMS320F28066 TMS320F28065
TMS320F28064 TMS320F28063 TMS320F28062
Detailed Description Copyright © 2010–2016, Texas Instruments Incorporated
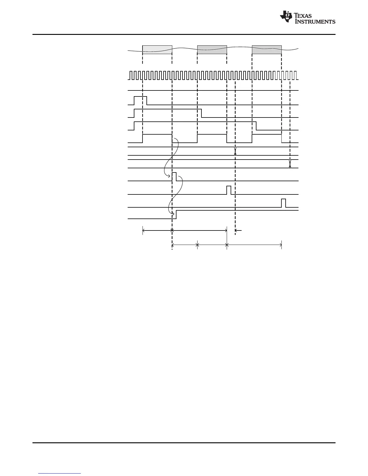
Figure 6-26. Timing Example for Sequential Mode / Early Interrupt Pulse

Related product manuals