EasyManua.ls Logo

ThinkPad X100e - Overall Parts Identification

ThinkPad X100e
134 pages
Print Icon
To Next Page IconTo Next Page
To Next Page IconTo Next Page
To Previous Page IconTo Previous Page
To Previous Page IconTo Previous Page
Loading...
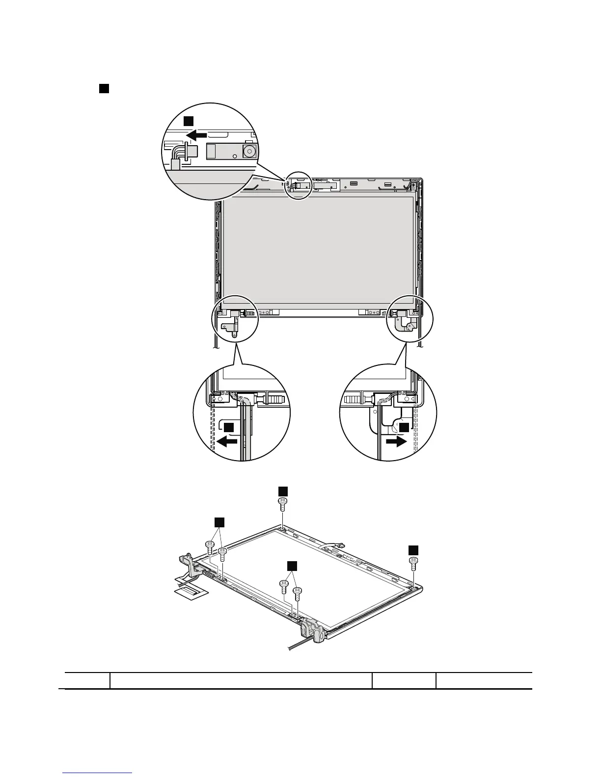
Table28.RemovalstepsofLCDpanel,hinges,andLCDcable
Instep1,releasethecablesfromthecableguideoftheleftandrighthinges.
2
1 1
3
3
3
3
StepScrew(quantity)Color
Torque
88HardwareMaintenanceManual

Table of Contents

Related product manuals