EasyManua.ls Logo

ThyssenKrupp NBS - Page 21

ThyssenKrupp NBS
156 pages
Print Icon
To Next Page IconTo Next Page
To Next Page IconTo Next Page
To Previous Page IconTo Previous Page
To Previous Page IconTo Previous Page
Loading...
OPERATING MANUAL NBS PRODUCT DESCRIPTION
ThyssenKrupp Aufzugswerke GmbH
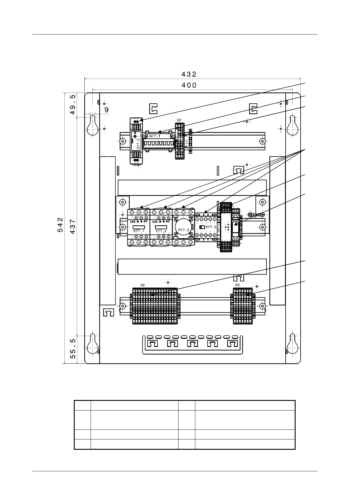
2.4.2 Component layout and mounting dimensions of the NBS control unit
Fig. 2.4.2
1
2
3
4
5
6
7
8
1 Power pack 2 Brake voltage module
3 Radio interference
suppression element
4 NBS contactor
5 Safety module 6 Door zone relay
7 230V AC terminal strip 8 24V DC terminal strip
21
10-2012

Related product manuals