EasyManua.ls Logo

Topcon DL-503 - Page 34

Topcon DL-503
86 pages
Print Icon
To Next Page IconTo Next Page
To Next Page IconTo Next Page
To Previous Page IconTo Previous Page
To Previous Page IconTo Previous Page
Loading...
33
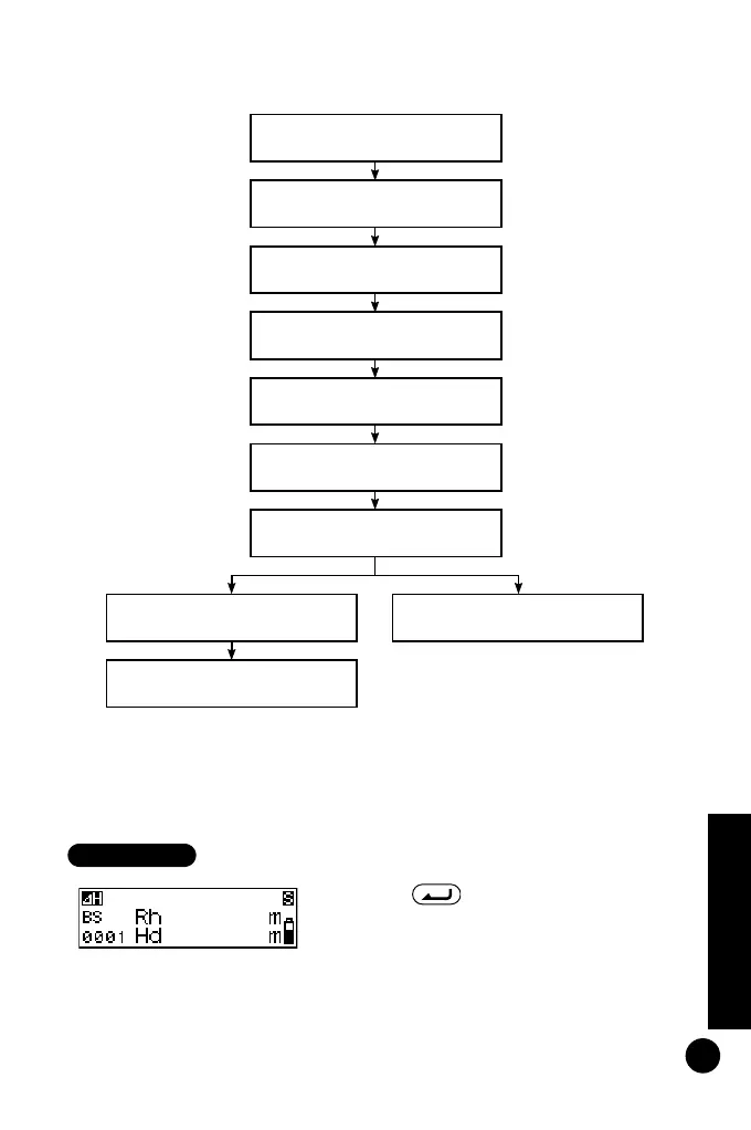
Surveying
The following procedure is an example of measurement in height
difference measurement mode.
Setting the point number
1 Press when measuring the
backsight point.
The point number can now be set.
Set the backsight point
number*
Measure the backsight
point
Check and record the
measurement results
Set attributes of foresight
point*
Set the point number of the
foresight point*
Measure (foresight) point
Check and record the
measurement results
Move the instrument point
Measure previous point as
backsight point
Measure next foresight
point
Procedure
DL502-503.book 33 ページ 2010年4月5日 月曜日 午前9時47分

Table of Contents

Related product manuals