EasyManua.ls Logo

Toro 34225 - Jump-Starting the Machine

Toro 34225
76 pages
Print Icon
To Next Page IconTo Next Page
To Next Page IconTo Next Page
To Previous Page IconTo Previous Page
To Previous Page IconTo Previous Page
Loading...
g027432
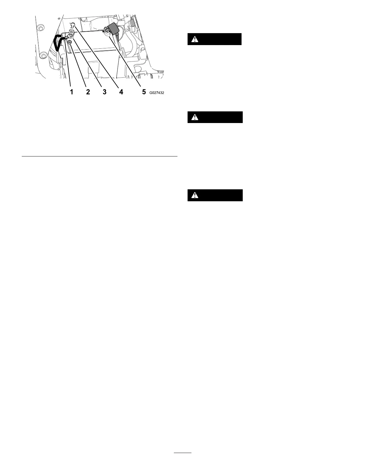
Figure78
1.Negative-battery-cable
cover(black)
4.Flangedbolt
2.Flangednut
5.Positive(+)battery
terminal
3.Negative(-)battery
terminal
4.Slidethered-terminalcoveroffthe
positive-batteryterminal(Figure78).
5.Removethehex-angedboltandangednut
fromthepositive(red)batterycableandthe
positive(+)batteryterminal,andremovethe
cablefromthebattery(Figure78).
6.Removethebatteryandbatteryboxfromthe
batterytrayofthemachine.
InstallingtheBattery
1.Placethebatteryintothebatterybox.
2.Positionthebatteryandbatteryboxontothe
batterytrayofthemachine.
3.Installthepositive(red)batterycabletopositive
(+)batteryterminalwithaangedboltand
angednut(Figure78).
4.Slidetheredterminalcoveroverthe
positive-batteryterminal.
5.Installthenegativebatterycabletothenegative
(-)batteryterminalwithaangedboltand
angednut(Figure78).
6.Alignthebatterycovertothebatteryboxand
securethecoverandboxtothebatterytraywith
thebatterystrap(Figure76)
Jump-StartingtheMachine
DANGER
Jump-startingabatterythatiscracked,frozen,
haslowelectrolytelevel,oranopen/shorted
batterycell,cancauseanexplosionresulting
inseriouspersonalinjury.
Donotjump-startabatteryiftheseconditions
exist;replacethebattery.
CAUTION
Corrosionorlooseconnectionscancause
unwantedelectricalvoltagespikesatanytime
duringthejump-startingprocedure.
Donotattempttojumpstartamachine
withlooseorcorrodedbatteryterminals,or
damagetotheenginecanoccur.
CAUTION
Connectingthejumpercablesincorrectly
(wrongpolarity)canimmediatelydamagethe
electricalsystem.
Becertainofthebattery-terminalpolarityand
thejumper-cablepolaritywhenconnectingto
thebattery.
Important:Besurethatthevehiclesdonottouch
andthatbothelectricalsystemsareoffandatthe
sameratedsystemvoltage.Theseinstructions
arefornegative-groundsystemsonly.
Important:Usetheproperlysizedjumpercables
(4to6AWG)withshortlengthstoreducethe
voltagedropbetweensystems.Ensurethatthe
cablesarecolorcodedorlabeledforthecorrect
polarity.
Note:Thefollowinginstructionsareadaptedfromthe
SAEJ1494Rev.Dec.2001BatteryBoosterCables
SurfaceVehicleRecommendedPractice(SAE
SocietyofAutomotiveEngineers).
1.Checkthebatteryterminalsofthedischarged
batteryandtheboosterbatteryforcorrosion
(white,green,orblue“snow”).
Note:Cleanthecorrosionfromthebattery
terminalspriortojumpstarting.Tightenthe
batterycableconnectionsasnecessary.
2.Ensurethattheboosterisa12-voltbatterywith
asufcientampratingthatisingoodcondition
andfullycharged.
60

Table of Contents

Related product manuals