EasyManua.ls Logo

Toshiba TSL3000E Series - Page 111

Toshiba TSL3000E Series
128 pages
To Next Page IconTo Next Page
To Next Page IconTo Next Page
To Previous Page IconTo Previous Page
To Previous Page IconTo Previous Page
Loading...
110
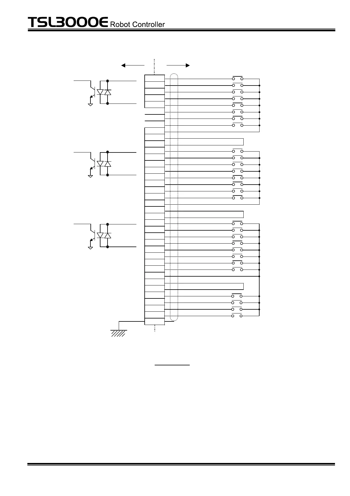
INTERFACE MANUAL
STE 85457
INPUT
TR48DIOC
1
20
2
21
3
22
4
23
5
24
6
25
7
26
8
27
9
28
10
29
11
30
12
31
13
32
14
33
15
34
16
35
17
36
18
37
19
DI_102/DI_134
P24V
P24G
INCOM1
INCOM2
INCOM3
DI_101
to
DI_108
to
INCOM1
INCOM2
INCOM3
DI_133 DI_140
DI_101/DI_133
DI_103/DI_135
DI_104/DI_136
DI_105/DI_137
DI_106/DI_138
DI_107/DI_139
DI_108/DI_140
DI_109
to
DI_116
to
DI_141 DI_148
DI_109/DI_141
DI_110/DI_142
DI_111/DI_143
DI_112/DI_144
DI_113/DI_145
DI_114/DI_146
DI_115/DI_147
DI_116/DI_148
DI_117
to
DI_128
to
DI_149 DI_160
DI_117/DI_149
DI_118/DI_150
DI_119/DI_151
DI_120/DI_152
DI_121/DI_153
DI_122/DI_154
DI_123/DI_155
DI_124/DI_156
DI_125/DI_157
DI_126/DI_158
DI_127/DI_159
DI_128/DI_160
(101 /133)
(102 /134)
(103 /135)
(104 /136)
(105 /137)
(106 /138)
(107 /139)
(108 /140)
(109 /141)
(110 /142)
(111 /143)
(112 /144)
(113 /145)
(114 /146)
(115 /147)
(116 /148)
(117 /149)
(118 /150)
(119 /151)
(120 /152)
(121 /153)
(122 /154)
(123 /155)
(124 /156)
(125 /157)
(126 /158)
(127 /159)
(128 /160)
P24V
P24G
P24V
P24G
User side
CASE
(Station 0/Station 1)
Note 1: The D_I101 to DI_108
and DI_133 to DI_140 in the
above figure are examples in
the case of Sink type.
Note 2: The DI109 to DI_116
and DI_141 to DI_148 in the
above figure are examples in
the case of Sink type.
Note 3: The DI_117 to DI_128
and DI_149 to DI_160 in the
above figure are examples in
the case of Sink type.
(Station 0/Station 1):
Signal name of DOUT
command
The specifications of the TR48DIOC extension input signals are identical to those
for TR48DIOCN, and so see Para. 8.1.1 for the input specifications.

Table of Contents

Related product manuals