EasyManua.ls Logo

Vacon NX Active Front End - Installation and Connection; Mounting and Cooling

Vacon NX Active Front End
110 pages
Print Icon
To Next Page IconTo Next Page
To Next Page IconTo Next Page
To Previous Page IconTo Previous Page
To Previous Page IconTo Previous Page
Loading...
5
vacon • 46 Installation
Tel. +358 (0) 201 2121 • Fax +358 (0)201 212 205
5. INSTALLATION
5.1 Mounting
The equipment mounting must be sturdy enough to carry the weight of the equipment. The
enclosure class of the equipment will depend on the mounting and solutions to be used. The
equipment mounting must provide sufficient shielding for contact of the live parts (IP2x). The
installation and mounting must comply with local laws and regulations.
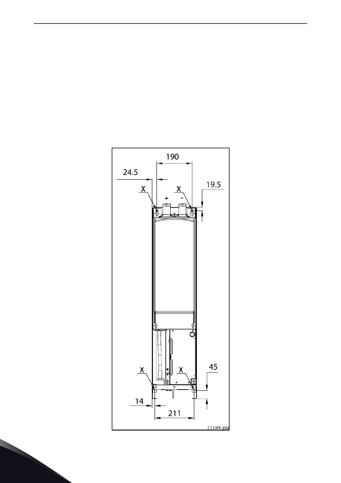
5.1.1 Active Front End Unit
The Active Front End can be mounted in a vertical position on the back plane of a cubicle. Enough
space must be reserved around the Active Front End to ensure sufficient cooling, see Figure 33.
Follow the minimum dimensions for installation, see Table 21. Required cooling air capacity and
minimum air holes on the switchgear, see Table 22. Also make sure that the mounting plane is
relatively even. The Active Front End is fixed with four bolts, Figure 26, Figure 27 and Figure 28.
Figure 26. Mounting points of FI9 AFE unit

Table of Contents

Related product manuals