EasyManua.ls Logo

Waters Xevo TQ-S cronos - Page 84

Waters Xevo TQ-S cronos
175 pages
Print Icon
To Next Page IconTo Next Page
To Next Page IconTo Next Page
To Previous Page IconTo Previous Page
To Previous Page IconTo Previous Page
Loading...
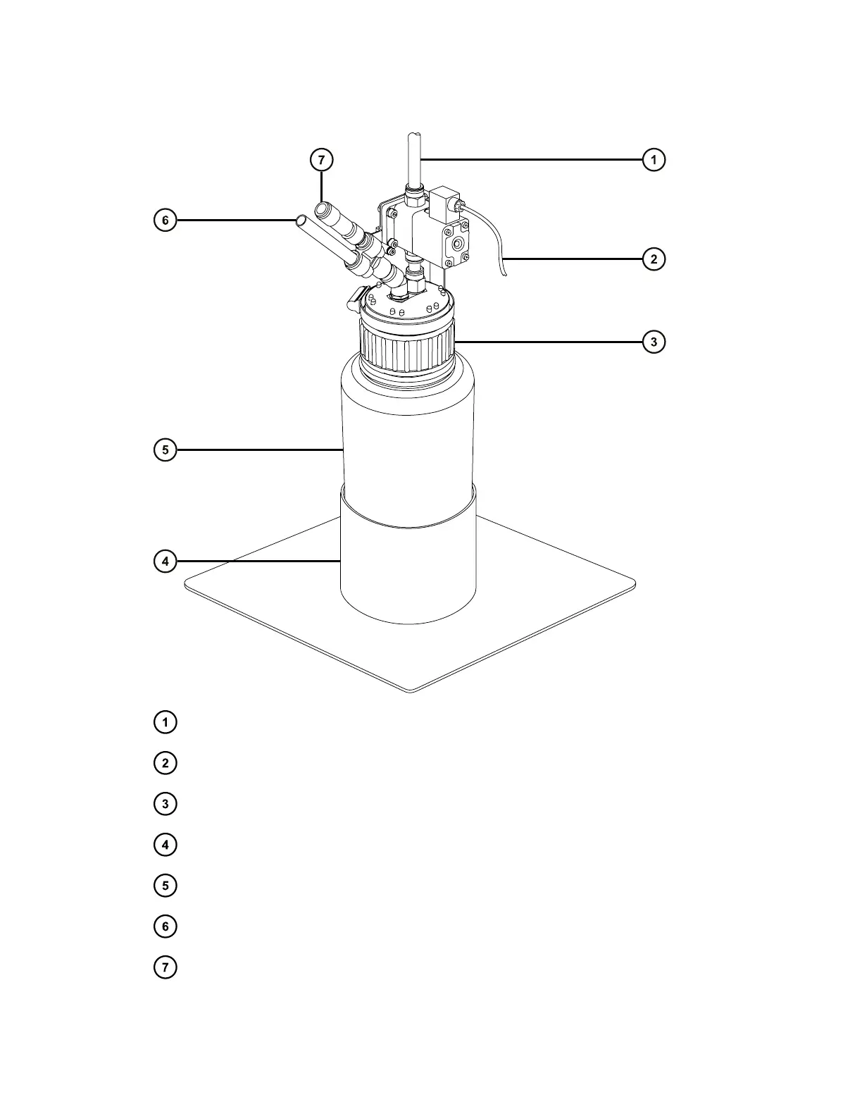
Figure 4–5: Nitrogen exhaust trap bottle
To laboratory exhaust port
Valve control cable (from instrument)
Cap
Bottle support
Nitrogen exhaust trap bottle
From instrument exhaust connection
One-way valve
January 10, 2022, 715006200 Ver. 01 (previously released as Rev. A)
Page 84

Table of Contents