EasyManua.ls Logo

Wolf BWL-1 S - Page 45

Wolf BWL-1 S
120 pages
Print Icon
To Next Page IconTo Next Page
To Next Page IconTo Next Page
To Previous Page IconTo Previous Page
To Previous Page IconTo Previous Page
Loading...
453064298_201507
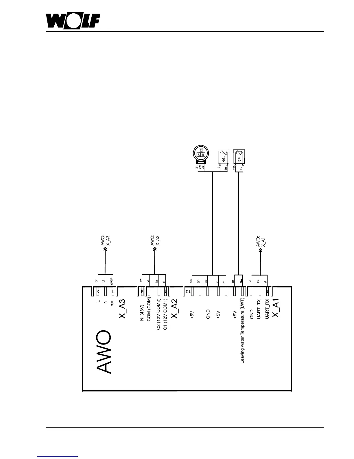
25. Power supply to the indoor module
Wiring diagram, AWO communication PCB, indoor module
AWO pressure sensor
T_condenser
(AWO refrigerant temperature sensor)
AWO T_boiler
condenser pressure
refrigerant temperature

Table of Contents

Related product manuals