EasyManua.ls Logo

Yamaha F60A - PTT (Power Trim and Tilt) Unit

Yamaha F60A
105 pages
Print Icon
To Next Page IconTo Next Page
To Next Page IconTo Next Page
To Previous Page IconTo Previous Page
To Previous Page IconTo Previous Page
Loading...
69W3D1X
12
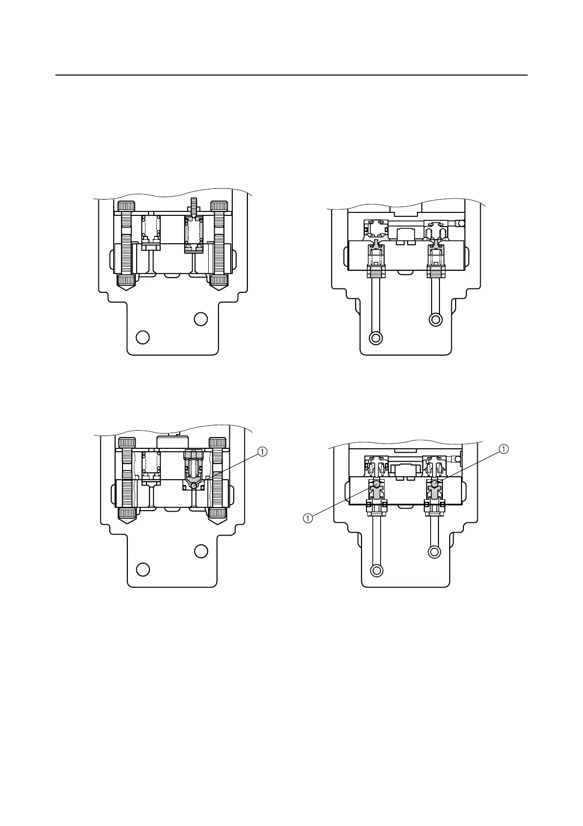
PTT (Power Trim and Tilt) unit
Shuttle piston
A ball type shut-off construction is used for both the up-shuttle and down-shuttle pistons. The ball
type realizes a reliable shut-off operation and high shut-off pressure.
1
Ball
F50
F60
S69W1310
Technical tips

Table of Contents

Other manuals for Yamaha F60A

Related product manuals