EasyManua.ls Logo

Yamaha F80 - 6;8 HP Remote Control Attachment Kit

Yamaha F80
497 pages
Print Icon
To Next Page IconTo Next Page
To Next Page IconTo Next Page
To Previous Page IconTo Previous Page
To Previous Page IconTo Previous Page
Loading...
7-2
Outboard Rigging Guide - 2001
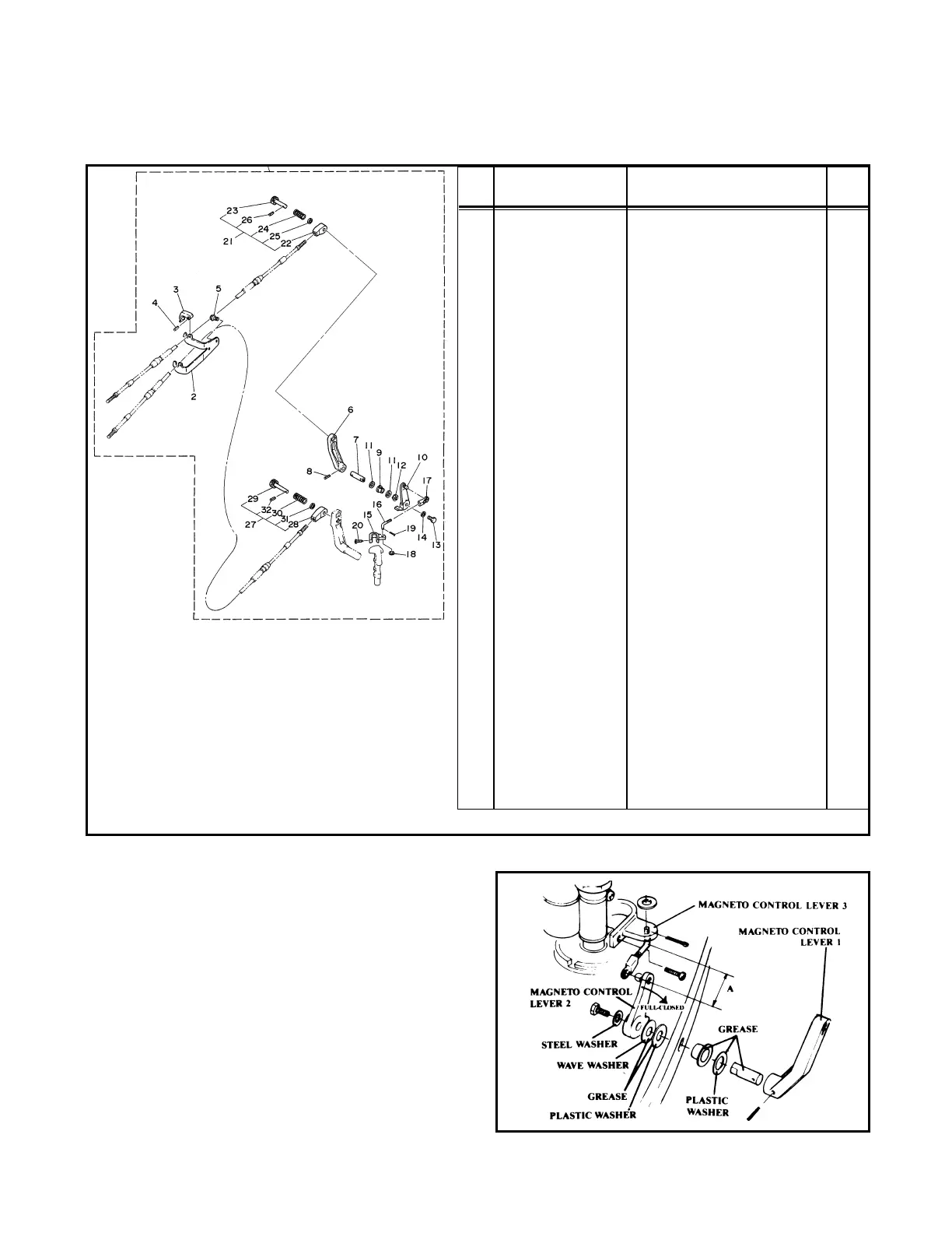
6/8HP REMOTE CONTROL ATTACHMENT KIT (6G1-48501-50-00)
REF
NO PART NUMBER DESCRIPTION QTY.
1 Remote Control Attach. Kit 1
2 6G1-48531-50-00 Remote Control Bracket 1 1
3 682-48538-50-00 Cable Clamp 2
4 91690-30012-00 Spring Pin 2
5 90105-06M23-00 Bolt 2
6 6G1-41631-50-EK Magneto Control Lever 1 1
7 6G1-41635-50-00 Link Connecting Shaft 1
8 91690-400160-00 Spring Pin 1
9 90386-10009-00 Bushing 1
10 6G1-41632-50-94 Magneto Control Lever 2 1
11 90202-10024-00 Plate Washer 2
12 90206-10M12-00 Wave Washer 1
13 97313-05014-00 Bolt 1
14 92990-05600-00 Washer 1
15 6G1-41633-50-94 Magneto Control Lever 3 1
16 6G1-41238-50-00 Link Joint 1 1
17 6H1-41237-00-00 Link Joint 2 1
18 90202-05088-00 Washer 1
19 91490-25015-00 Cotter Pin 1
20 97780-50520-00 Screw 1
21 682-48340-50-00 Throttle Cable End Assembly 1
22 682-48344-50-00 Remote Control Cable End 1 1
23 617-48361-90-00 Cable Hook 1
24 90501-10264-00 Spring 1
25 92990-08600-00 Washer 1
26 91690-30012-00 Spring Pin 1
27 682-48330-50-00 Shift Cable End Assembly 1
28 682-48346-50-00 Remote Control Cable End 1
29 617-48331-91-00 Cable Hook 1
30 90501-10071-00 Spring 1
31 92990-08600-00 Washer 1
32 91690-30012-00 Spring Pin 1
Component parts
Installation
1. Install the magneto control lever 1 and the
magneto control lever 2 through the bottom
cowling.
NOTE:Be sure to grease all the washers, bush-
ings and the shaft as shown. Use Yamaha Marine
Grease.
2. Install the magneto control lever 3 onto the
magneto control shaft as shown in the pre-
ceding illustration.
3. Place the throttle grip in the fully closed posi-
tion. Place the magneto control lever 2 in the
fully closed position so it contacts the bottom
stopper.

Table of Contents

Other manuals for Yamaha F80

Related product manuals