EasyManua.ls Logo

Yamaha F80B - Steering Arm

Yamaha F80B
249 pages
Print Icon
To Next Page IconTo Next Page
To Next Page IconTo Next Page
To Previous Page IconTo Previous Page
To Previous Page IconTo Previous Page
Loading...
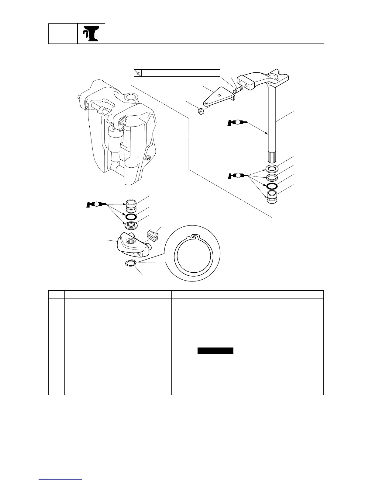
BRKT
Bracket unit
7-17
6D93G11
Steering arm
7
No. Part name Qty Remarks
1Nut 2
2 Steering hook 1
3 Stud bolt 2 M10
×
40 mm
4 Steering arm 1
5 Washer 1
6 Bushing 1
7O-ring 2
Not reusable
8 Bushing 2
9 Washer 1
10 Steering yoke 1
11 Damper 1
12 Circlip 1
A
A
A
11
7
6
5
4
8
12
10
9
7
8
1
2
3
T
R
.
.
20 N
·
m (2.0 kgf
·
m, 14.8 ft
·
Ib)
S6D87220

Table of Contents

Other manuals for Yamaha F80B

Related product manuals