EasyManua.ls Logo

Yamaha F80B - Power Trim and Tilt System

Yamaha F80B
249 pages
Print Icon
To Next Page IconTo Next Page
To Next Page IconTo Next Page
To Previous Page IconTo Previous Page
To Previous Page IconTo Previous Page
Loading...
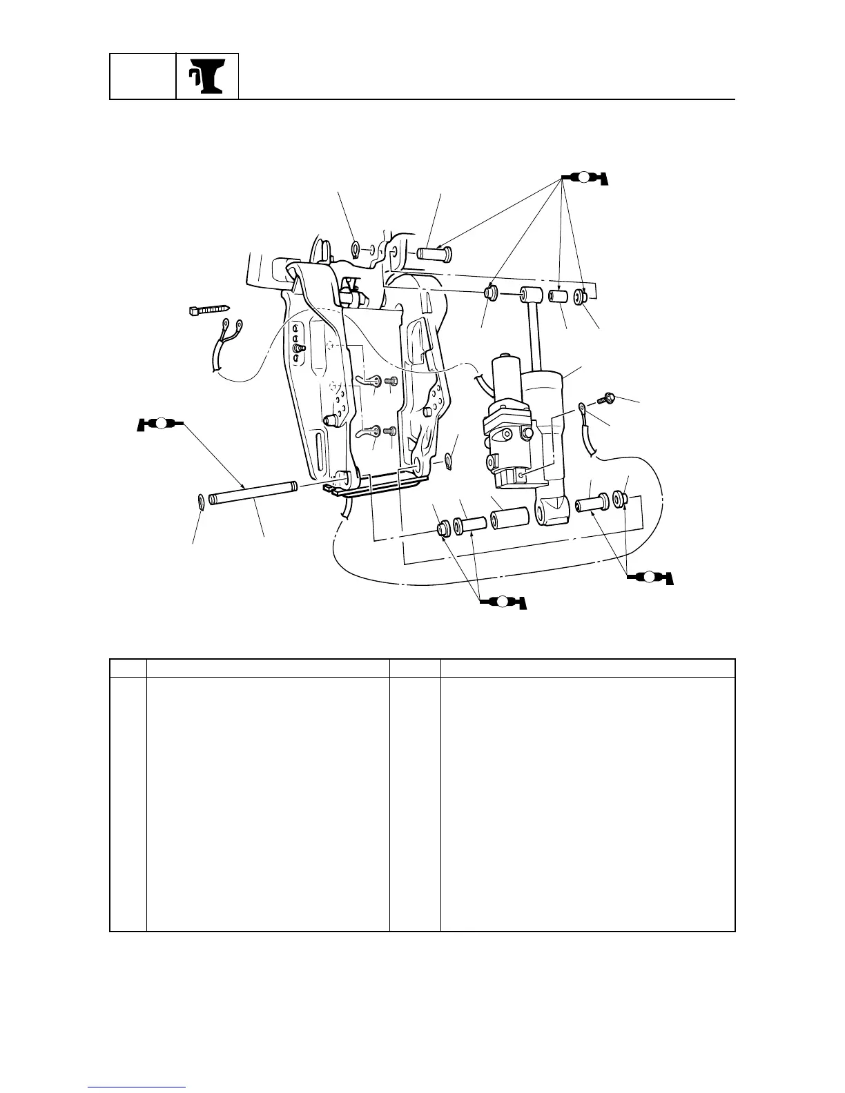
BRKT
Bracket unit
7-23
6D93G11
Power trim and tilt unit
7
No. Part name Qty Remarks
1 Power trim and tilt unit 1
2 Circlip 1
3Shaft 1
4 Circlip 2
5Shaft 1
6 Bushing 2
7 Bushing 1
8 Ground lead 1
9Bolt 1 M6
×
10 mm
10 Bushing 2
11 Bushing 2
12 Collar 1
13 Holder 2
14 Bolt 2 M6
×
10 mm
S6D87270
2
3
6
5
4
7
6
1
8
9
10
11
11
4
10
12
13
14
13
14
AA
AA
AA
AA

Table of Contents

Other manuals for Yamaha F80B

Related product manuals