EasyManua.ls Logo

Yamaha FZ 25 2021 - Page 20

Yamaha FZ 25 2021
247 pages
Print Icon
To Next Page IconTo Next Page
To Next Page IconTo Next Page
To Previous Page IconTo Previous Page
To Previous Page IconTo Previous Page
Loading...
1-11
GEN
INFO
FEATURES
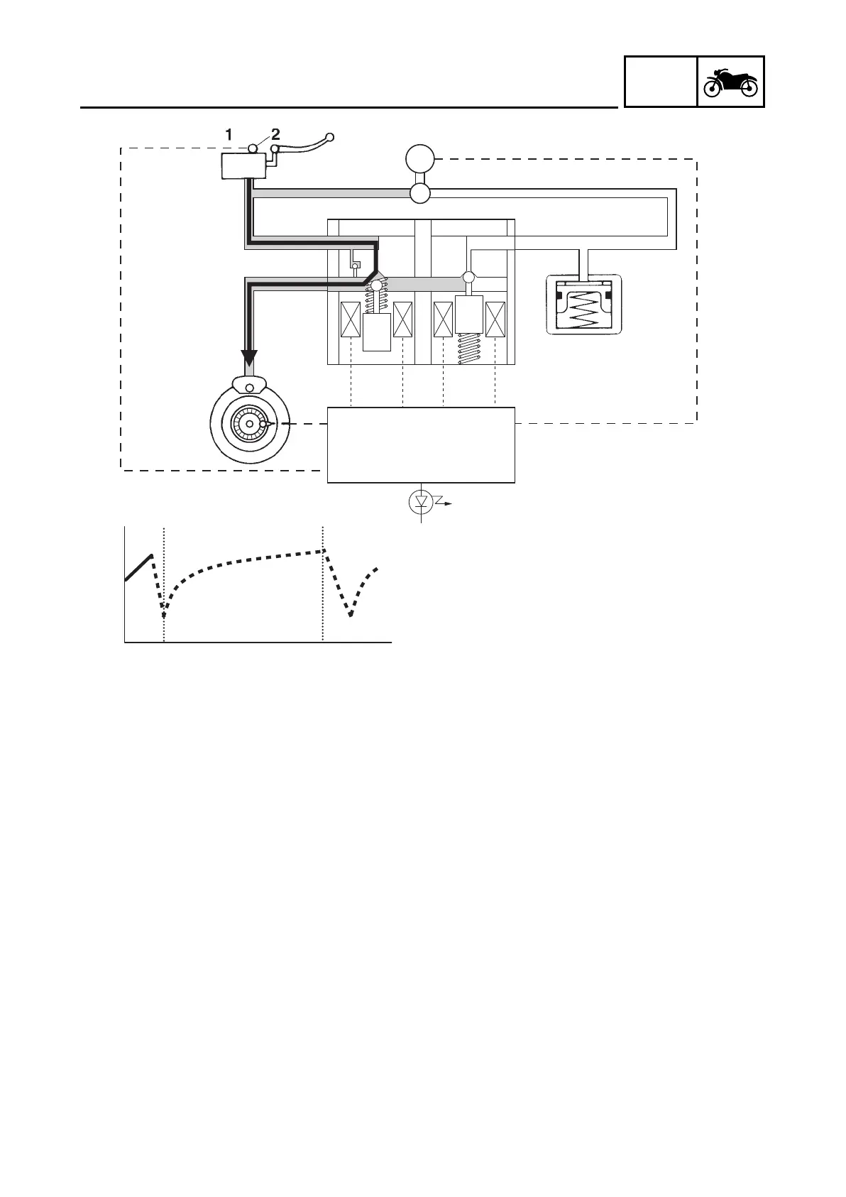
Emergency braking (ABS activated)
1. Depressurizing phase
When the front wheel is about to lock, the outlet solenoid valve is opened by the “depressurization”
signal transmitted from the ABS ECU. When this occurs, the inlet solenoid valve compresses the
spring and closes the brake line from the brake master cylinder. Because the outlet solenoid valve
is open, the brake fluid is sent to the buffer chamber. As a result, the hydraulic pressure in the brake
caliper is reduced.
The brake fluid stored in the buffer chamber is pumped back to the brake master cylinder by the hy-
draulic pump linked to the ABS motor.
12
13
7
6
11
3
4
5
9
8
10
1. Brake master cylinder
2. Brake light switch
3. ABS motor
4. Hydraulic pump
5. Buffer chamber
6. Outlet solenoid valve
7. Inlet solenoid valve
8. Brake caliper
9. Wheel sensor
10. ABS ECU
11. ABS warning light
12. Brake fluid pressure
13. Time
B9X-F8197-E0.book Page 11 Thursday, July 16, 2020 2:28 PM

Table of Contents