EasyManua.ls Logo

Yanmar ViO80-1A - Joysticks and Pedals

Yanmar ViO80-1A
215 pages
Print Icon
To Next Page IconTo Next Page
To Next Page IconTo Next Page
To Previous Page IconTo Previous Page
To Previous Page IconTo Previous Page
Loading...
5 Description of the driving position
24
5.2.11 Manual regeneration
Repeated use of the machine with the engine at low
speed or at no-load can cause insufficient regeneration
of the DPF.
In case of insufficient regeneration of the DPF, the mo-
nitor displays the DPF regeneration icon.
Immediately conduct a manual regeneration of the
DPF.
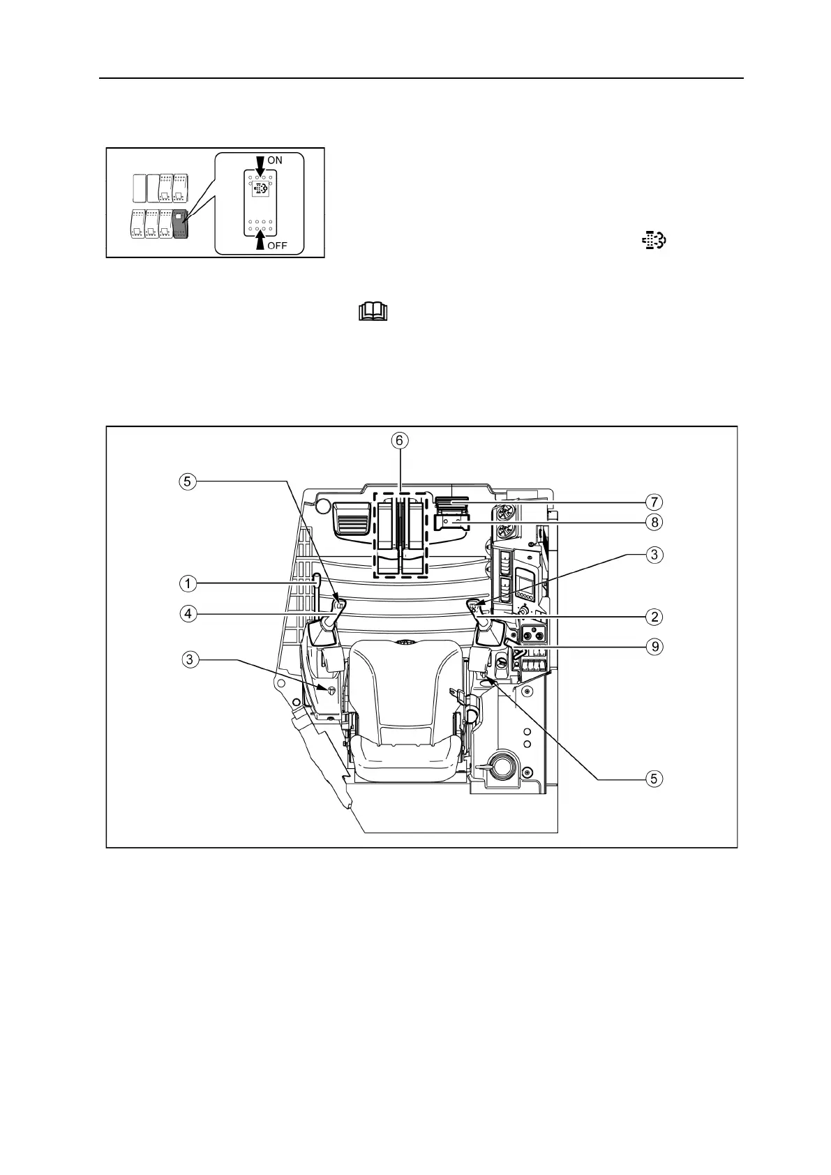
5.3 Joysticks and pedals
1= Locking lever
2= Right command lever
3= Adjustable proportional PTO, P.T.O. 1
4= Left command lever
5= Adjustable proportional PTO, P.T.O. 2
6= Travel levers and pedals
7= Protection of pedals
8= Boom rotation pedal
9= Blade lever
15.4 Manual regeneration of the particulate filter,
page
120

Table of Contents