EasyManua.ls Logo

Zeiss Axio Observer 3 - 4.5 Fitting the Carrier for Transmitted-Light Illumination

Zeiss Axio Observer 3
192 pages
Print Icon
To Next Page IconTo Next Page
To Next Page IconTo Next Page
To Previous Page IconTo Previous Page
To Previous Page IconTo Previous Page
Loading...
INSTALLATION INSTRUCTIONS AND FIRST-TIME SET-UP
ZEISS Fitting the carrier for transmitted-light illumination Axio Observer
40 431004-7244-001 12/2016
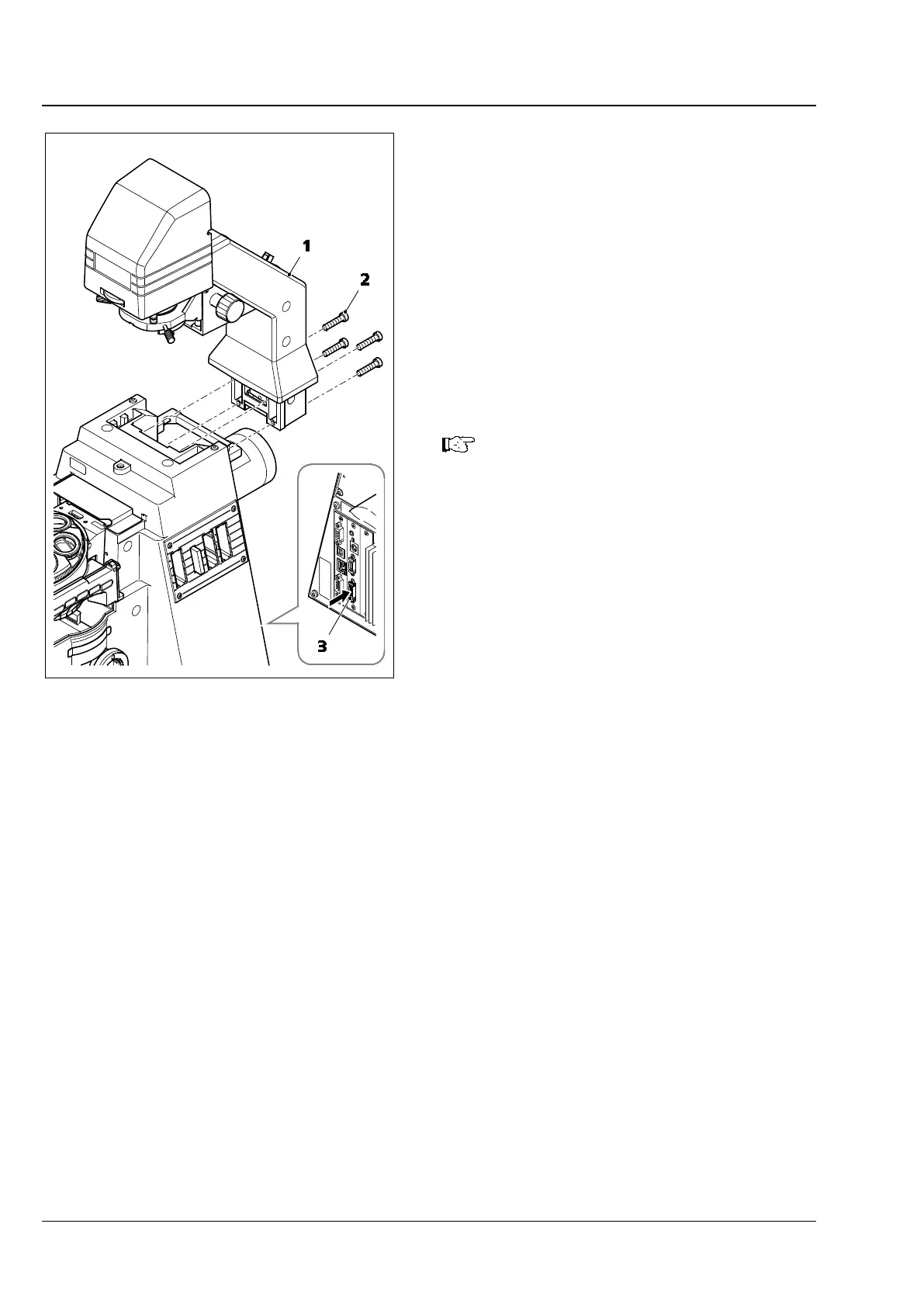
4.5 Fitting the carrier for transmitted-
light illumination
Remove cover if necessary.
Place the mount (Fig. 17/1) in position against
the rear of the stand and screw into place using
the four Allen screws provided (Fig. 17/2) and
the 4 mm Allen key.
Insert the LCD display connector
(Axio Observer 5 and 5 materials only) into the
socket for the carrier for transmitted-light
illumination with LCD display (Fig. 17/3) on the
rear of the stand.
The carrier for transmitted-light
illumination
does not require any
adjustment.
Fig. 17 Fitting the carrier for transmitted-
light illumination

Table of Contents

Other manuals for Zeiss Axio Observer 3

Related product manuals