EasyManua.ls Logo

Zeiss Axio Observer 3 - Connectors on the Rear of the Axio Observer 3, 3 Materials; Connectors on the Rear of the Axio Observer 5, 5 Materials

Zeiss Axio Observer 3
192 pages
Print Icon
To Next Page IconTo Next Page
To Next Page IconTo Next Page
To Previous Page IconTo Previous Page
To Previous Page IconTo Previous Page
Loading...
INSTALLATION INSTRUCTIONS AND FIRST-TIME SET-UP
ZEISS Connectors on the rear of the Axio Observer 3, 3 materials Axio Observer
60 431004-7244-001 12/2016
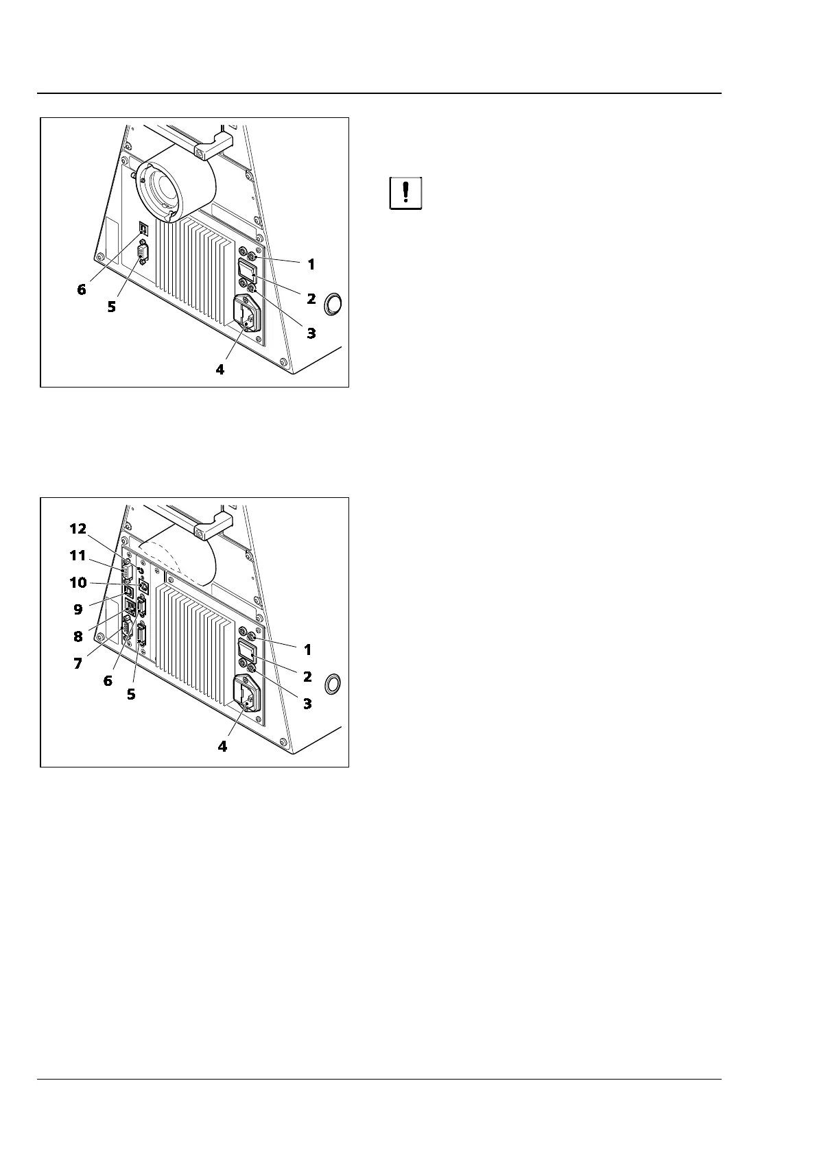
4.14 Connectors on the rear of the
Axio Observer 3, 3 materials
Switch the microscope off before
connecting any components.
Key to Fig. 43:
1 Connector for transmitted light LED / halogen
illuminator (output 1)
2 Transmitted light/reflected light toggle switch
(LED / halogen illuminator)
3 Connector for reflected light LED / halogen illuminator
(output 2)
4 Power socket
5 CAN connecting socket
6 USB port
4.15 Connectors on the rear of the
Axio Observer 5, 5 materials
Key to Fig. 44:
1 Connector for transmitted light LED / halogen
illuminator (output 1)
2 Transmitted light/reflected light toggle switch
(LED / halogen illuminator)
3 Connector for reflected light LED / halogen illuminator
(output 2)
4 Power socket
5 Socket for LCD display
Transmitted light illumination carrier
6 Connector for transmitted light shutter
7 RS-232 port
8 TCP/IP port
9 USB port
10 External high speed shutter connector
11 CAN connecting socket
12 Trigger socket (IN/OUT) for shutter
Fig. 43 Axio Observer 3, 3 materials (rear)
Fig. 44 Axio Observer 5, 5 materials (rear)

Table of Contents

Other manuals for Zeiss Axio Observer 3

Related product manuals