EasyManua.ls Logo

Zeiss S8 - Page 215

Zeiss S8
234 pages
Print Icon
To Next Page IconTo Next Page
To Next Page IconTo Next Page
To Previous Page IconTo Previous Page
To Previous Page IconTo Previous Page
Loading...
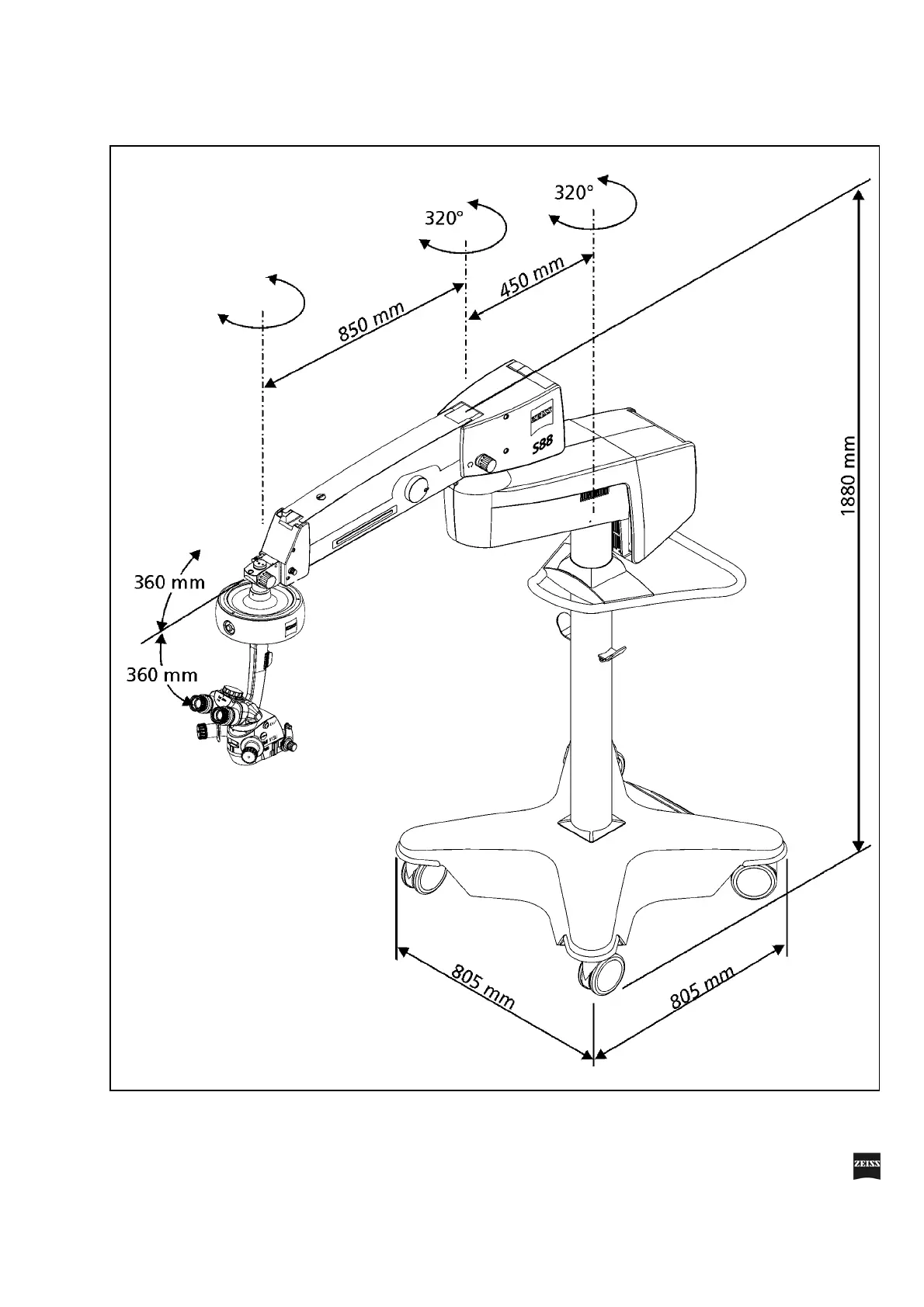
G-30-1529-en OPMI® VISU 160 on S8, S81 & S88 Suspension Systems Issue 5.0
Printed on 09. 10. 2006
Technical data 215
270°

Table of Contents

Other manuals for Zeiss S8

Related product manuals