EasyManua.ls Logo

ABB i-bus KNX Yucus YUB/U1.0.1 Series - Page 18

ABB i-bus KNX Yucus YUB/U1.0.1 Series
173 pages
To Next Page IconTo Next Page
To Next Page IconTo Next Page
To Previous Page IconTo Previous Page
To Previous Page IconTo Previous Page
Loading...
KNX Technical Reference Manual
ABB i-Bus
®
KNX Yucus
17
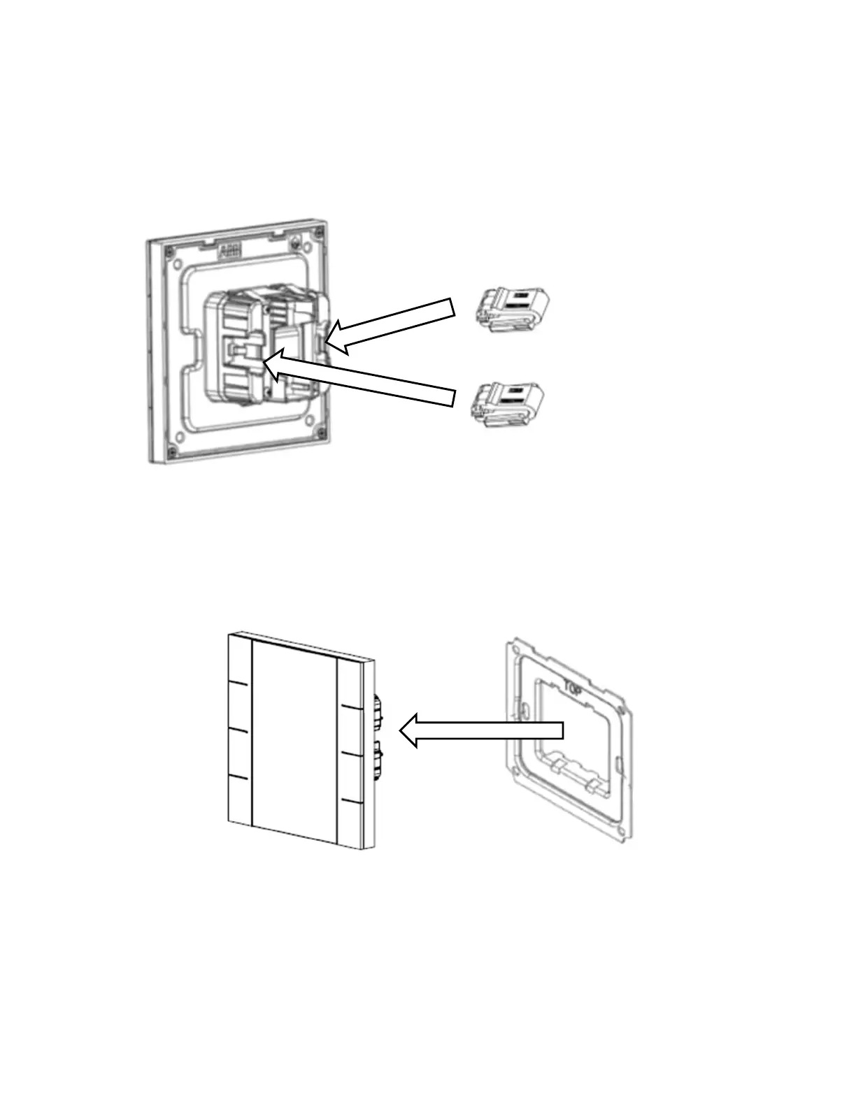
3. Optional (b) anti-theft clip can be purchase separately and clip at the side of the
control element
4. To remove the control element, use finger to pull the control element out from side
and create an opening between the control element and the wall. Hold onto the three
sides near the upper area of the control element and pull outward until it was removed
out from the supporting metal plate.

Table of Contents

Related product manuals