EasyManua.ls Logo

Abus Terxon PSTN - Aansturingen; Positieve Aansturing

Abus Terxon PSTN
Print Icon
To Next Page IconTo Next Page
To Next Page IconTo Next Page
To Previous Page IconTo Previous Page
To Previous Page IconTo Previous Page
Loading...
104
O/P1 Programmeerbare transistoruitgang. Negatief schakelend
tegen massa (0 V).
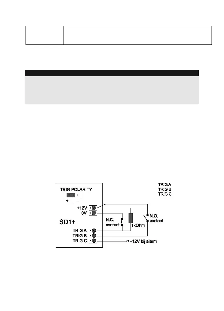
7.2 Aansturingen
OPMERKING:
Alle ingangen worden met +12 V of 0 V aangestuurd. De gewenste
aansturings-polariteit (geldt voor alle ingangen) selecteert u via de
geleiderbrug „TRIG POLARITY” op de hoofdplaat. Deze instelling moet
conform de bedrading van de ingangen zijn!
Aanbevolen wordt de aanschakeling via relais- of transistoruitgangen
die bij een alarm sluiten (NO-contacten), omdat er hier voor de
aansluiting geen extra afsluitweerstand nodig is. Daarbij is het om het
even of er op massa (0 V) of 12 V geschakeld wordt.
Het voordeel bij openers (NC-contacten) is de zelfbewaking van de
alarmzone. Als deze doorbroken wordt, volgt er een aansturing.
7.2.1 Positieve aansturing
De negatieve aansturing van de ingangen kan door verschilende soort
bedradingen tot stand worden gebracht:

Table of Contents

Related product manuals