EasyManua.ls Logo

Abus Terxon PSTN - Aktiveringer; Positiv Aktivering; Negativ Aktivering

Abus Terxon PSTN
Print Icon
To Next Page IconTo Next Page
To Next Page IconTo Next Page
To Previous Page IconTo Previous Page
To Previous Page IconTo Previous Page
Loading...
135
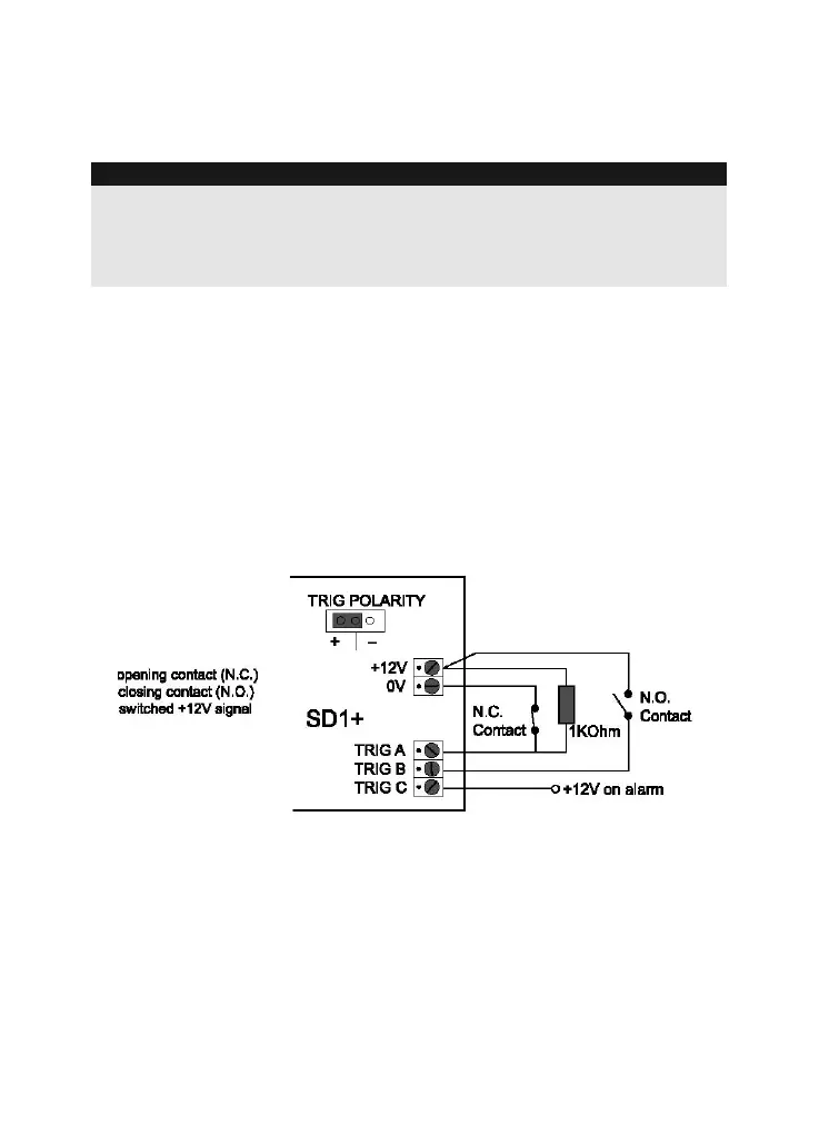
7.2 Aktiveringer
BEMÆRK:
Alle indgange aktiveres enten med werden +12 V eller 0 V. Vælg den
ønskede aktiveringspolaritet (gælder for alle indgange) med jumperen
“TRIG POLARITY” på hovedprintkortet. Denne indstilling skal være
konform med indgangenes ledningsføring!
Det anbefales at aktivere via relæ- eller transistorudgange, som sluttes
i tilfælde af alarm (NO-kontakter), da der her ikke er brug for en ekstra
slutmodstand til tilslutningen. I den forbindelse er det ligegyldigt, om
der kobles mod stel (0 V) eller 12 V.
Fordelen ved åbnerkontakter (NC-kontakter) er alarmzonens
selvovervågning. Hvis den afbrydes, aktiveres der.
7.2.1 Positiv aktivering
Den negative aktivering af indgangene kan realiseres med forskellige
ledningsføringstyper:
7.2.2 Negativ aktivering
Den negative aktivering af indgangene kan realiseres med forskellige
ledningsføringstyper:

Table of Contents

Related product manuals