EasyManua.ls Logo

AIREDALE ET05D - Page 31

AIREDALE ET05D
90 pages
Print Icon
To Next Page IconTo Next Page
To Next Page IconTo Next Page
To Previous Page IconTo Previous Page
To Previous Page IconTo Previous Page
Loading...
Ecotel™Telecoms
31
Ecotel™ 5-15kW Technical Manual 9321381 V1.3.0 02_2018
Installation Data
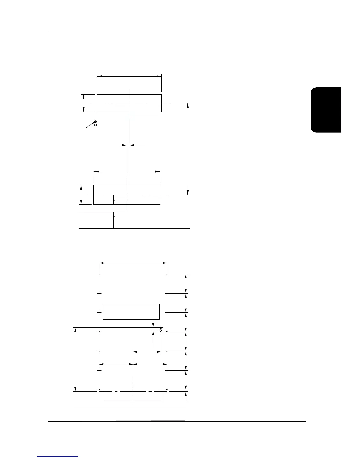
ET12/15D-HX1F*-*
Cabin Mount and Incoming Services Detail
FLOOR LEVEL
MIN DISTANCE
FROM FLOOR
INCOMING SERVICES
DETAIL
30
1243
902
264
876
236
105
Fire damper and deection grilles are to be located centrally around the cut-outs and secured using tamper proof xings.
FLOOR LEVEL
28
300 300 300 300 300 300
1054
527
527
47
428
A
A
A
A
A
A
AA
A
A
A
A
A
A
B
B
994
Cabin Mounting
External View
Internal View
14 Off cabin mounting holes ‘A
Use M8 bolts with washers and star washers.
2 Off incoming services holes ‘b’ Ø25.0mm.
Installation

Related product manuals