EasyManua.ls Logo

AIREDALE ET05D - Cabin Mount and Incoming Services Detail

AIREDALE ET05D
90 pages
Print Icon
To Next Page IconTo Next Page
To Next Page IconTo Next Page
To Previous Page IconTo Previous Page
To Previous Page IconTo Previous Page
Loading...
Ecotel™ Telecoms
30
Ecotel™ 5-15kW Technical Manual 9321381 V1.3.0 02_2018
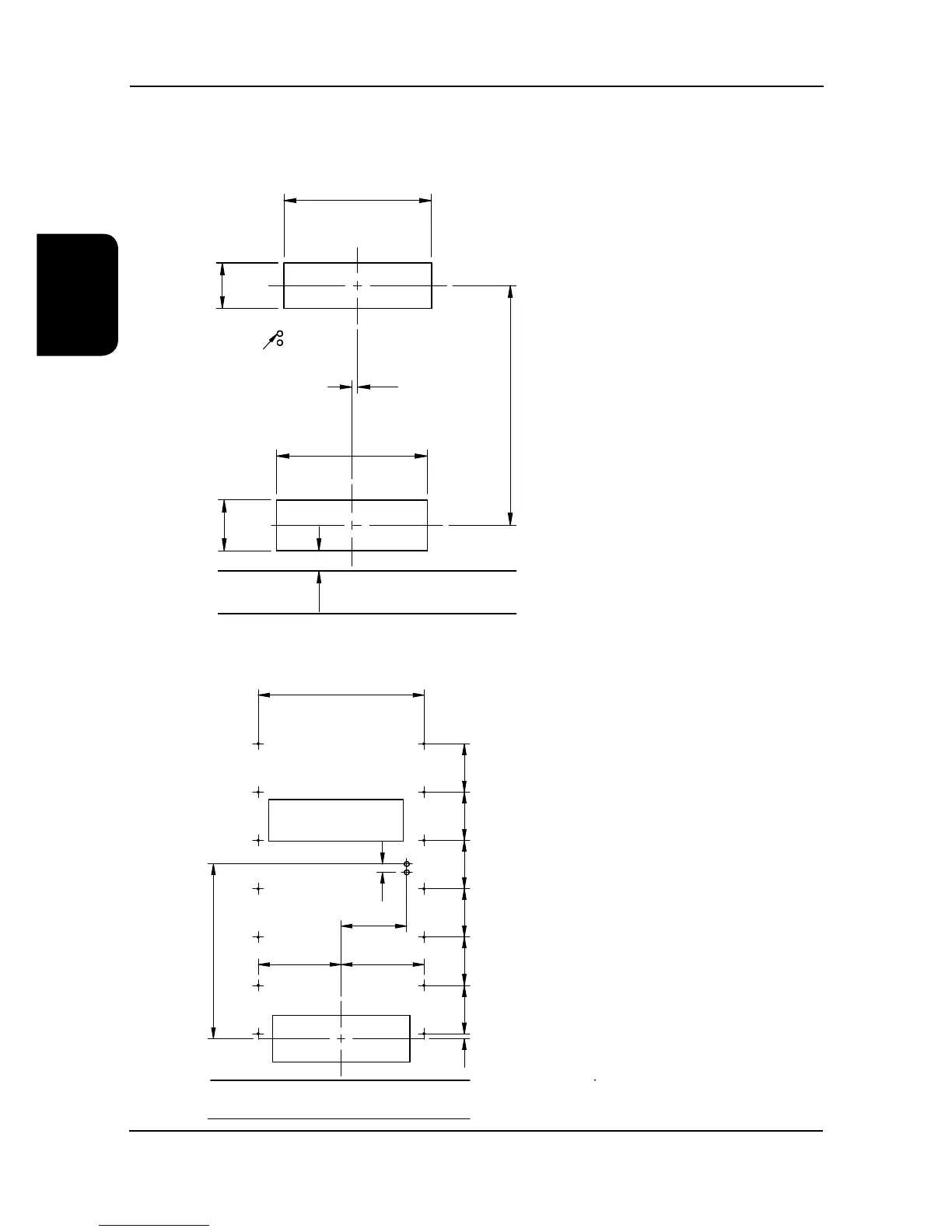
Installation Data
ET05/08D-HX1F*-*
Cabin Mount and Incoming Services Detail
FLOOR LEVEL
MIN DISTANCE
FROM FLOOR
INCOMING SERVICES
DETAIL
765
236
781
264
30
1243
105
Fire damper and deection grilles are to be located centrally around the cut-outs and secured using tamper proof xings.
FLOOR LEVEL
944
28 275 275 275 275 275 275
472472
374
47
994
A
A
A
A
A
A
A
A
A
A
A
A
A
A
B
B
Cabin Mounting
Internal View
External View
14 Off cabin mounting holes ‘A
Use M8 bolts with washers and star washers.
2 Off incoming services holes ‘b’ Ø25.0mm.
Installation

Related product manuals