EasyManua.ls Logo

AJA FS3 - Page 68

AJA FS3
108 pages
Print Icon
To Next Page IconTo Next Page
To Next Page IconTo Next Page
To Previous Page IconTo Previous Page
To Previous Page IconTo Previous Page
Loading...
FS3 Frame Synchronizer/Converter v1.1r1 68 www.aja.com
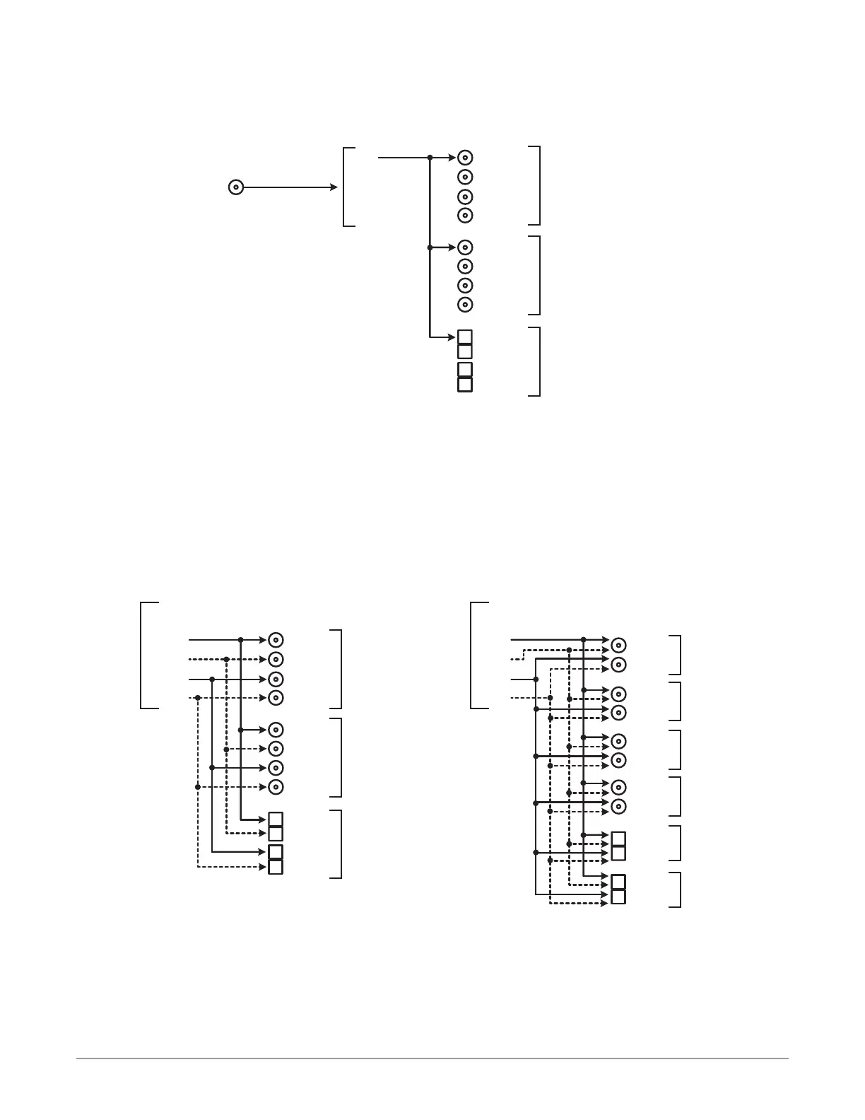
Figure 13. Embedded Audio Input and Output
Fiber Out 1
Fiber Out 2
SDI Out 7
SDI Out 8
SDI Out 5
SDI Out 6
SDI Out 4
Output Signal 1
(SDI1 Embedded Audio 16 channels)
Output Signal 2
(SDI1 Embedded Audio 16 channels)
Output Signal 3
(SDI1 Embedded Audio 16 channels)
SDI Out 1
SDI1
SDI2
SDI3
SDI4
Embedded
Audio Groups
Output
Connector
SDI Out 2
Fiber Out 3
Fiber Out 4
SDI Out 3
Quad 1.5G setting (default)
SDI In 1
Embedded Audio
(16 channels)
Input
Connector
Input
HD Video
Signal
4K and UltraHD video can carry four groups of 16 channels (64 total) of
embedded audio. The FS3 can receive up to 64 audio channels, 16 on each input
connector, and can route these incoming audio channels to the embedded
audio outputs, via the internal embedded audio groups, called SDI1-SDI4. For
example if the FS3 is generating a quad-link 1.5G SDI output signal, and all four
of the internal audio groups have 16 channels of audio, the unit can output
all 64 embedded audio channels on all three outputs. In this case the SDI1-4
internal groups of embedded audio roughly correspond to the output connector
numbers. See the left side of See Figure 14.
Figure 14. Embedded Audio Output Routing
Fiber Out 1
Fiber Out 2
Fiber Out 1
Fiber Out 2
SDI Out 7
SDI Out 8
SDI Out 5
SDI Out 6
SDI Out 4
Output Signal 1
Embedded Audio
SDI1-4
64 Channels
Output Signal 2
Embedded Audio
SDI1-4
64 Channels
Output Signal 3
Embedded Audio
SDI1-4
64 Channels
Output Signal 1
Embedded Audio SDI1-
4
64 Channels
Output Signal 2
Embedded Audio SDI1-
4
64 Channels
Output Signal 3
Embedded Audio SDI1-
4
64 Channels
Output Signal 4
Embedded Audio SDI1-
4
64 Channels
Output Signal 5
Embedded Audio SDI1-
4
64 Channels
Output Signal 6
Embedded Audio SDI1-
4
64 Channels
SDI Out 1
SDI1
SDI2
SDI3
SDI4
Embedded
Audio Groups
Embedded
Audio Groups
Connector Connector
SDI Out 2
Fiber Out 3
Fiber Out 4
Fiber Out 3
Fiber Out 4
SDI Out 3
SDI Out 7
SDI Out 8
SDI Out 5
SDI Out 6
SDI Out 4
SDI Out 1
SDI Out 2
SDI Out 3
Input
Embedded
Audio
Input
Embedded
Audio
Quad 1.5G setting (default)Dual 3G setting
SDI1
SDI2
SDI3
SDI4
However, when the FS3 is generating a dual link 3G output signal, the embedded
audio group numbers no longer match the output connectors. See the right side
of Figure 14.
Finally, when the FS3 is outputting a single link SD or HD-SDI signal, the same
embedded audio is present on all 12 output connector.s
The following menus control the FS3’s audio routing. The general routing
procedure using the front panel is to select the menu of the audio output

Table of Contents

Related product manuals