EasyManua.ls Logo

Allen-Bradley PLC-2/30 - Immediate Input Instruction

Allen-Bradley PLC-2/30
348 pages
Print Icon
To Next Page IconTo Next Page
To Next Page IconTo Next Page
To Previous Page IconTo Previous Page
To Previous Page IconTo Previous Page
Loading...
Output Override and I/O Update Instructions
Chapter 7
75
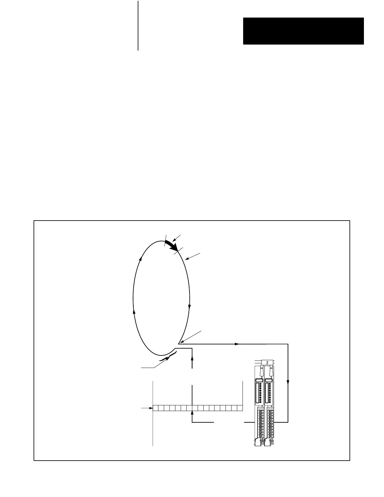
The Immediate Input instruction updates one word of the input image table
data in advance of the normal scan sequence (Figure 7.3). The image table
word represents one module group in the I/O chassis.
The Immediate Input instruction is programmed in the condition area of
the ladder diagram rung. The Immediate Input instruction can be
considered as always true; it is always executed, whether or not other rung
conditions allow logic continuity.
Program the Immediate Input instruction only when necessary. This
depends on both the response time of the specific input devices and
modules and on the position of the rungs examining these inputs in the
program. It is best to program the Immediate Input instruction just before
inputs in the modules group are examined in the program.
Figure 7.3
Immediate
Input Instruction
Examine Bits in W
ord 1
12
Here in Program
Returns to
Program
Scan
16 Bits
From One
Module Group
W
ritten into
Imput Image
T
able W
ord
Module
Group
(Input)
Immediate Input Instruction
Interrupts Program Scan
W
ord 1
12
I/O Scan
Program Scan
7.2.2
Immediate Input Instruction
Artisan Technology Group - Quality Instrumentation ... Guaranteed | (888) 88-SOURCE | www.artisantg.com

Table of Contents

Related product manuals