EasyManua.ls Logo

Alpha 6000S series - Page 23

Alpha 6000S series
221 pages
Print Icon
To Next Page IconTo Next Page
To Next Page IconTo Next Page
To Previous Page IconTo Previous Page
To Previous Page IconTo Previous Page
Loading...
Chapter 2 Installation and Wiring
22
X1
PE
24V DC
24V
5V
PLC
+
-
外部控制器
COM
5V
+
-
X6
1
6
屏蔽线近端接地
+
-
X7
PE
24V DC
5V
+
-
外部控制器
5V
+
-
X10
7
10
屏蔽线近端接地
+
-
24V1
PLC1
COM1
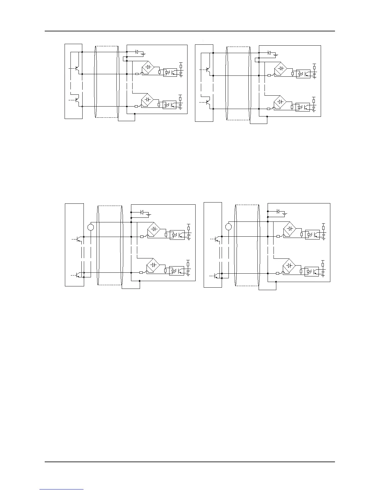
Fig. 2-23 Connection diagram while using drain
electrode of internal + 24V power supply (control
board)
NOTE: Remove the short jumper JP1 connecting PLC and 24V,
and connect PLC to COM
Fig. 2-24 Connection diagram while using drain
electrode of internal + 24V power supply (extension
board)
NOTE: Remove the short jumper JP1 connecting PLC1 and
24V1, and connect PLC1 to COM1
3) Use connection mode of source of an external power, as shown in Fig. 2-25 (control board) and Fig. 2-26
(extension board).
X1
PE
24V DC
24V
5V
PLC
+
-
COM
5V
+
-
X6
COM
1
6
屏蔽线近端接
+
-
+
-
9~30V
X7
PE
24V DC
5V
+
-
5V
+
-
X10
COM
7
10
线
+
-
+
-
9~30V
24V1
PLC1
COM1
Fig. 2-25 Connection diagram while using source of
external power (control board)
NOTE: Remove the short jumper JP1 connecting internal PLC
and 24V
Fig. 2- 26 Connection diagram while using source of
external power (extension board)
NOTE: Remove the short jumper JP1 connecting internal PLC1
and 24V1
4) Use connection mode of drain electrode of an external power as shown in Fig. 2-27 (control board) and Fig. 2-28
(extension board).
External controller
External controller
Near-end of shield
line is grounded
Near-end of shield
line is grounded
External controller
External controller
Near-end of shield
line is grounded
Near-end of shield
line is grounded

Table of Contents

Related product manuals